Совершенствование технологии устройства буронабивной сваи с уширителем
- Авторы: Абрамян С.Г.1, Фоменко Н.А.1, Оганесян О.В.2
-
Учреждения:
- Волгоградский государственный технический университет
- филиал ОАО «РЖД»
- Выпуск: Том 14, № 4 (2024)
- Страницы: 102-107
- Раздел: ТЕХНОЛОГИЯ И ОРГАНИЗАЦИЯ СТРОИТЕЛЬСТВА
- URL: https://journal-vniispk.ru/2542-0151/article/view/287303
- DOI: https://doi.org/10.17673/Vestnik.2024.04.15
- ID: 287303
Цитировать
Полный текст
Аннотация
На основе анализа ряда отечественных и зарубежных научных публикаций подчеркивается актуальность повышения эксплуатационной надежности строящихся и реконструируемых зданий и сооружений посредством упрочнения грунтов оснований на основе устройства буронабивных свай с уширением. Выявляются основные направления в достижении эффективности применения буронабивных свай с уширением и их преимущества. Предлагается усовершенствованная технология устройства буронабивной сваи в зонах слабых грунтов с применением извлекаемых обсадных труб. Бетонирование сваи производится методом вертикально перемещаемой трубы. Рассматриваются конструктивные и технологические особенности предлагаемой сваи. Уширение сваи выполняется с помощью части арматурного каркаса, которая должна быть расположена в зоне слабых грунтов. Данная часть каркаса выполнена из предварительно прогнутых в сторону обсадной трубы арматурных стержней. До бетонирования данная часть арматурного каркаса под воздействием вдавливающей нагрузки принимает необходимую пространственную форму. Отмечается, что за основу усовершенствованной буронабивной сваи принята ранее разработанная и запатентованная авторами свая. Подчеркивается, что совершенствование конструкции и технологии устройства буронабивной сваи позволяет снизить металлоемкость и затраты труда.
Ключевые слова
Полный текст
Актуальность исследования связана с повышением эксплуатационной надежности строительных систем путем усиления грунтов оснований на стадиях строительства и реконструкции. Анализ научных публикаций показывает, что одним из распространенных методов упрочнения слабых грунтов основания является устройство буронабивных, буроинъекционных и анкерных свай [1–3]. Эффективность обеспечения уширения (в том числе контролируемого) буронабивных и буроинъекционных свай в зонах слабых грунтов изучена авторами публикаций [4–6]. Некоторая детализация указанных публикаций показывает, что преимущество таких свай заключается главным образом в более высокой несущей способности по грунту основания; кроме того, немаловажно и то, что на их изготовление требуется гораздо меньшее количество бетона. Обзор отечественной и зарубежной патентной литературы позволяет говорить об использовании на современном этапе особо эффективных конструкций различных приспособлений для устройства уширений в забое скважин. Отметим, что в российских нормативных документах отсутствует расчет несущей способности подобных свай по грунту основания, в связи с чем проведено его выполнение [4]. В [5] изложены основные теоретические положения, касающиеся формообразования уширений на конце свай посредством применения различных технологий, и выделены этапы развития технологии формирования свай с уширениями в российской и мировой строительной практике. В исследовании [6] приводятся данные о том, что несущая способность свай с уширениями в полтора-два раза превышает аналогичный показатель у свай, которые произведены по стандартным технологиям.
В научных публикациях зарубежных авторов по исследуемой теме подчеркивается: устройство монолитной железобетонной сваи с уширенным наконечником из цементного раствора позволяет повысить несущую способность свай и эксплуатационную надежность строительной системы, так как исключается осадка буронабивной сваи [7]; путем статических испытаний авторами исследования [8] установлено, что «использование буронабивной сваи с уширением в нижней части позволяет снизить осадку фундамента в среднем на 43 %»; обоснована целесообразность применения буронабивных свай при возведении высотных зданий, так как повышается несущая способность фундамента [9].
Предлагаются инновационные подходы к уменьшению расхода стали на основе новых конструктивных решений по армированию каркаса сваи [10]; рекомендуется применять взамен стальных обсадных труб стеклопластиковую оболочку, «надежно защищающую сваю от воздействия внешней среды и воспринимающую механические нагрузки, повышая долговечность конструкции» [11].
Важность применения буронабивных свай при возведении зданий и сооружений в стесненных городских условиях рассматривается в публикациях [12, 13]. Отметим также целесообразность применения секущих буронабивных свай при реконструкции объектов недвижимости.
Различные прогрессивные конструктивные и технологические решения по устройству буронабивных и буроинъекционных свай, разработанные на основе анализа патентных источников авторами данной статьи (Абрамян С.Г., Оганесян О.В.), приведены в [14], где подчеркивается, что «применение свай с контролируемым уширением в основании и у боковых поверхностей скважины при усилении слабых грунтов является экономически эффективным в силу их прочности и надежности».
В предлагаемой технологии устройства буронабивной сваи предполагается использование обсадной трубы, которая по мере бетонирования сваи извлекается.
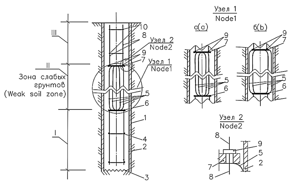
На рис. 1 представлены конструктивные особенности предлагаемой (усовершенствованной) буронабивной сваи.
Рис. 1. Конструктивные особенности буронабивной сваи:
1 – контур сваи; 2 – обсадная труба; 3 – резцы; 4 – арматурный каркас; 5 – арматурные стержни средней части каркаса; 6, 7 – диски-хомуты; 8 – арматурные стержни верхней части каркаса; 9 – упорные шайбы; 10 – поперечные арматурные стержни (хомуты) каркаса (разработано авторами)
Fig. 1. Open bore pile design features:
1 – pile contour; 2 – casing pipe; 3 – cutters; 4 – reinforcing cage; 5 – middle-part reinforcing bars; 6, 7 – clamping discs; 8 – upper-part reinforcing bars; 9 – thrust washers; 10 – reinforcing cage crossbars (clamps) (developed by the authors)
Обсадная труба 2 погружается в скважину необходимой глубины отдельными секциями по мере разработки буровой установкой необходимых параметров грунта и его извлечения. Контур скважины обозначен цифрой 1. Для быстрого погружения в грунт в нижней части 3 обсадной трубы предусмотрены резцы. После в освобожденное от грунта внутреннее пространство обсадной трубы устанавливается арматурный каркас 4 таким образом, чтобы обеспечить защитный слой стержней арматуры в пяте сваи. Арматурный каркас состоит из трех условных (I–III) секций, до погружения в обсадную трубу он полностью собирается на строительной площадке. Средняя (II) секция позволяет выполнить уширение сваи в зоне слабых грунтов. Она выполнена из предварительно прогнутых в сторону обсадной трубы арматурных стержней 5, которые неподвижно соединены снизу и сверху с дисками-хомутами 6 и 7 (см. узел 1а на рис. 1). В отверстия диска-хомута 6 с нижней стороны входит верхняя часть арматурных стержней условной первой секции каркаса, а с верхней стороны – арматурные стержни нижней части второй (средней) секции. Верхняя часть арматурных стержней данной секции (II) входит в отверстия нижней части диска-хомута 7. Арматурные стержни 8 верхней (III) секции каркаса неподвижно закреплены с диском-хомутом 7 упорными шайбами 9 (узел 2 на рис. 1), ограничивающими его проседания, так как верхняя секция в дальнейшем будет использована для технологического решения вдавливания средней части каркаса, т. е. для уширения сваи в зоне слабых грунтов. Устойчивость арматурных стержней по высоте обеспечивается хомутами 10, шаг которых применяется в соответствии с требованиями действующих нормативных документов.
Для достижения необходимой прочности сваи в зоне слабых грунтов количество арматурных стержней средней секции может быть увеличено, что определяется расчетным путем с учетом характеристик грунтов и передаваемой нагрузки на сваю. При этом может применяться меньший диаметр стержней, что при уширении позволит обеспечить дополнительный прогиб арматурных стержней в сторону обсадной трубы путем вдавливания толкателем, т. е. верхней секцией арматурного каркаса. Однако суммарная площадь их сечения должна быть больше суммарной площади стержней нижней части арматурного каркаса.
Рассмотрим технологическую последовательность устройства буронабивной сваи (рис. 2 и 3).
Рис. 2. Технологическая последовательность устройства буронабивной сваи:
а – установленные в обсадную трубу арматурный каркас, бетонолитная труба и рабочая платформа, воспринимающая и передающая вдавливающую нагрузку; б – схема подачи бетонной смеси и частично забетонированная (нижняя секция) буронабивная свая; в – схема подачи бетонной смеси в верхнюю секцию и забетонированные I и II секции сваи: 1 – контур сваи; 2 – обсадная труба; 3 – резцы; 4 – арматурный каркас; 5 – арматурные стержни средней части каркаса; 6, 7 – диски-хомуты; 8 – арматурные стержни верхней части каркаса; 9 – упорные шайбы; 10 – поперечные арматурные стержни (хомуты) каркаса; 11 – бетонолитная труба; 12 – рабочая платформа для восприятия и передачи нагрузки; 13 – воронка бетонолитной трубы (разработано авторами)
Fig. 2. Open bore pile flow sheet:
a – casing-held reinforcing cage, tremie pipe and work platform receiving and transmitting squeeze load; b – concrete mixture flowchart and partially concreted (bottom section) open bore pile; c – concrete mixture flowchart for the top section and concreted pile sections I and II: 1 – pile contour; 2 – casing pipe; 3 – cutters; 4 – reinforcing cage; 5 – middle-part reinforcing bars; 6, 7 – clamping discs; 8 – upper-part reinforcing bars; 9 – thrust washers; 10 – reinforcing cage crossbars (clamps); 11 – tremie pipe; 12 – work platform to receive and transmit load; 13 – tremie funnel (developed by the authors)
Рис. 3. Последовательность устройства буронабивной сваи:
а – бетонирование верхней части сваи; б – схема готовой буронабивной сваи с извлеченной частью обсадной трубы и бетонолитной трубы: 1 – контур сваи; 2 – часть извлеченной обсадной трубы; 8 – арматурные стержни; 10 – поперечный хомут; 11 – часть бетонолитной трубы; 13 – воронка бетонолитной трубы (разработано авторами)
Fig. 3. Open bore pile flow sheet:
a – concreting the top pile section; b – finished open bore pile flowchart with the retrieved casing and tremie part: 1 – pile contour; 2 – retrieved casing part; 8 – reinforcing bars; 10 – crosshead clamp; 11 – tremie part; 13 – tremie funnel (developed by the authors)
Бетонирование производят методом вертикально перемещаемой трубы (ВПТ). Количество и длина секций бетонолитной трубы 11 (рис. 2) зависят от глубины сваи. На рис. 2, а представлены установленные в обсадную трубу арматурный каркас и бетонолитная труба. Сверху арматурного каркаса (последняя секция) установлена рабочая металлическая платформа 12, поверхность которой с тыльной стороны перфорирована для вдавливания верхней и средней секций арматурного каркаса, при этом уширяется только средняя часть, так как продольные арматурные стержни верхней части жестко закреплены упорными шайбами 9 к диску-хомуту 7. Вдавливание происходит за счет передачи нагрузки на рабочую платформу 12 с помощью любого устройства для вдавливания строительных конструкций или аналогичного устройства, рассмотренного в патенте [15]. Как видно на рис. 2, б, за счет вдавливания платформа 12 опускается вниз, а секция арматурного каркаса в зоне слабого грунта (II) уширяется (стержни арматурного каркаса данной секции максимально приближены к стенкам обсадной трубы). Схема уширенной секции каркаса приведена также на узле 1, б рис. 1.
В дисках-хомутах 6, 7, а также на рабочей платформе 12, предназначенной для передачи вдавливающей нагрузки на стержни каркаса, предусмотрены отверстия необходимого диаметра, через которые проходят звенья бетонолитной трубы для подачи бетонной смеси, при этом минимальное расстояние от забоя скважины до конца нижнего звена трубы принимается 10 см. Бетонная смесь заполняется через воронку 13, установленную на верхнем звене бетонолитной трубы.
Секции обсадной трубы и звенья бетонолитной трубы извлекаются по мере заполнения скважины бетонной смесью. Например, на рис. 2, б представлена заполненная бетонной смесью часть скважины, где расположена нижняя секция арматурного каркаса. Обсадная труба и бетонолитная труба находятся на уровне средней и верхней секций арматурного каркаса. Вдавливание средней секции арматурного каркаса для образования уширения выполняется синхронно с извлечением необходимых секций обсадной трубы и звеньев бетонолитной трубы. На рис. 2, в представлены заполненные бетонной смесью нижние и средние секции буронабивной сваи.
Далее выполняются работы по бетонированию, извлечению последних секций обсадной трубы и звеньев бетонолитной трубы верхней части скважины (рис. 3).
Технология, подобная описанной технологии устройства буронабивной сваи с уширением, рассмотрена авторами в патенте [16], однако данная технология и конструктивные особенности предлагаемой сваи имеют некоторые преимущества:
- отсутствие в забое скважины металлической пластины, на которую опирается арматурный каркас;
- взамен патрубка, соединяющего стержни нижней и средней части арматурного каркаса, используется диск-хомут, применение которого более надежно обеспечивает прочность сваи;
- имеющаяся в верхней части арматурного каркаса рабочая платформа (впоследствии снимается для дальнейшего использования), воспринимающая необходимую нагрузку от толкателя или любого устройства для вдавливания строительных конструкций, позволяет трансформировать уширяемую часть каркаса до необходимых размеров. Нагрузка для уширения определяется расчетом, при этом учитываются диаметры арматурных стержней и их количество, необходимое для уширения сваи.
Вывод. Предлагаемая усовершенствованная технология устройства буронабивной сваи, основная цель которой – повысить эксплуатационную надежность строящихся или реконструируемых объектов недвижимости, отличается большей эффективностью, поскольку снижается материалоемкость за счет извлечения обсадной трубы (в зонах слабых грунтов обычно используются неизвлекаемые обсадные трубы) и, как было отмечено выше, в забое скважины отсутствует металлическая пластина, что приводит к сокращению трудозатрат.
Средняя секция арматурного каркаса многофункциональная, так как с ее помощью обеспечивается также уширение (в том числе контролируемое) сваи в слабых зонах грунтов, что исключает необходимость применения традиционных уширителей и тем самым приводит к снижению трудозатрат.
Об авторах
Сусанна Грантовна Абрамян
Волгоградский государственный технический университет
Автор, ответственный за переписку.
Email: susannagrant@mail.ru
кандидат технических наук, доцент, доцент кафедры технологий строительного производства
Россия, 400005, Волгоград, пр. Ленина, 28Николай Александрович Фоменко
Волгоградский государственный технический университет
Email: kafedra_tsp@mail.ru
кандидат технических наук, доцент, доцент кафедры технологий строительного производства
Россия, 400005, Волгоград, пр. Ленина, 28Оганес Валерьевич Оганесян
филиал ОАО «РЖД»
Email: ogoganesyan@mail.ru
главный инженер дирекции железнодорожных вокзалов, Павелецкого вокзала
Россия, 115054, Москва, Павелецкая пл., 1аСписок литературы
- Самохвалов М.А., Гейдт А.В., Паронко А.А. Обзор существующих конструкций буроинъекционных анкерных свай // Вестник МГСУ. 2019. Т. 14. Вып. 12. С. 1530–1554. doi: 10.22227/1997-0935.2019.12.1530-1554
- Salnyi I., Stepanov M., Karaulov А. Experience in strengthening foundations and foundations on techno genic soils. E3S Web of Conferences. 2022. Vol. 363. Article number 02004. doi: 10.1051/e3sconf/202236302004
- Абрамян С.Г., Симаков В.В., Протопопов Д.Н. Технологии усиления оснований и фундаментов зданий на основе применения буроинъекционных свай // Инженерный вестник Дона. 2022. № 4. URL: http://www.ivdon.ru/ru/magazine/archive/n4y2.
- Чернюк В.П. Семенюк С.М., Юськович В.И., Шляхова Е.И. Буронабивные сваи с уширенным основанием – достойная альтернатива забивным сваям // Вестник Брестского государственного технического университета. 2021. № 2 (125). С. 35–37.
- Фёдоров В.С., Купчикова Н.В. Технологии устройства концевых уширений набивных и готовых свай и их влияние на формообразование конструкций фундамента // Инженерно-строительный вестник Прикаспия. Астрахань, 2019. № 1 (27). С. 40–56.
- Соколов Н.С. Технологические приемы устройства буроинъекционных свай с многоместными уширениями // Жилищное строительство. 2016. № 10. С. 54–59.
- Monteiro Fernando, Cunha Renato, Aguiar Marcos and Silva Carlos. (2021). Settlement of bored piles with expander body system in lateritic soils. REM - International Engineering Journal. 74. 309‒318. https://doi.org/10.1590/0370-44672020740057.
- Aleksandr Paronko, Mikhail Samokhvalov, Oleg Ashikhmin, and Vladimir Gejdt. (2023). The results of strengthening the foundation with a bored pile with an enlarged pile base. E3S Web of Conferences 371, 02009. https://doi.org/10.1051/e3sconf/202337102009.
- Feng Yu Qin and Lu Zhang. (2013). Application and Discussion of Pressure Grouting Technology in Bored Piles. Applied Mechanics and Materials, vol. 351–352, Trans Tech Publications, Ltd., Aug. pp. 487–491. doi: 10.4028/ href='www.scientific.net/amm.351-352.487' target='_blank'>www.scientific.net/amm.351-352.487.
- Luisa María Gil-Martín, Enrique Hernández-Montes, Myoungsu Shin and Mark Aschheim. (2012). Developments in excavation bracing systems. Tunnelling and Underground Space Technology. 31. 107‒116. DOI.org/10.1016/j.tust.2012.03.002.
- Вшивков А.С., Бочкарева Т.М. Применение композитных материалов в технологии устройства буронабивных свай в обсадных трубах // Вестник Пермского национального исследовательского политехнического университета. Строительство и архитектура. 2016. Т. 7, № 2. С. 69–75. doi: 10.15593/2224-9826/2016.2.07.
- Husin Albert, Agusma Divy and Imron Ali. (2024). Works Analysis of Bored Pile, Pile Cap, and Secant Pile based on System Dynamic Model in Residential High-rise Building Projects. 020023. doi: 10.1063/5.0144134.
- Богданова О.В., Докудовская Д.И. Проблемы устройства буронабивных свай в городской застройке в условиях слабых грунтов города Ростова-на-Дону // Инженерный вестник Дона. 2018. №2. URL: http://www.ivdon.ru/ru/magazine/archive/n2y2018/5025
- Абрамян С.Г., Черешнева Н.В., Оганесян О.В. и др. Технологии усиления грунтов оснований строительных систем буронабивными и буроинъекционными сваями: обзор патентной информации // Вестник евразийской науки. 2023. Т. 15, № 6. URL: https://esj.today/PDF/18SAVN623.pdf
- Устройство для вдавливания строительных конструкций: пат. 2159830 Рос. Федерация. № 99100493/03/ Кашка С.Б., Пресняков Б.М., Бовчалюк П.И.; заявл. 05.01.99; опубл. 27.11.2000.
- Буронабивная свая: пат. 2824116 Рос. Федерация. Заявка: 2023134516 / Фоменко Н.А., Абрамян С.Г., Оганесян О.В., Фоменко В.Н.; заявл. 22.12.23; опубл. 06.08.2024. Бюл. 22.
Дополнительные файлы




