Обоснование параметров технологии производства йогурта с добавлением плодов зизифуса
- Авторы: Гербер Ю.Б.1, Гаврилов А.В.1
-
Учреждения:
- Агротехнологическая академия КФУ имени В. И. Вернадского
- Выпуск: Том 32, № 1 (2022)
- Страницы: 41-53
- Раздел: Процессы и машины агроинженерных систем
- Статья получена: 03.06.2025
- Статья одобрена: 03.06.2025
- Статья опубликована: 06.06.2025
- URL: https://journal-vniispk.ru/2658-4123/article/view/294873
- DOI: https://doi.org/10.15507/2658-4123.032.202201.041-053
- ID: 294873
Цитировать
Полный текст
Аннотация
Введение. В настоящее время актуален вопрос производства оздоровительных молочных продуктов. Цель исследования – разработать технологию производства молочного продукта с заданной консистенцией, сбалансированным витаминным составом, обогащенным микроэлементами и антиоксидантами, и оптимизировать параметры процессов пастеризации и дробления косточек без попадания частиц скорлупы в продукт.
Материалы и методы. Объектом исследования являются технология производства лечебно-оздоровительного продукта на молочной основе, процессы пастеризации молока и дробления компонента зизифуса без повреждения косточек. Для этого важно выбрать оптимальные конструктивно-режимные параметры дробилки. Методика проведения эксперимента на роторной дробилке заключалась в контроле скорости вращения ротора и зазора между подвижными и неподвижными ребрами дробилки. Предложена конструктивная схема, позволяющая производить измельчение плодов без повреждения косточки.
Результаты исследования. Полученные данные позволили сформулировать рекомендации по оптимизации температуры пастеризации исходного молочного сырья с точки зрения формирования заданных реологических свойств. Предложено использовать пектинсодержащие плоды зизифуса для формирования необходимой консистенции йогурта (кефира). Определены кинематические показатели работы устройства для дробления плодов зизифуса без повреждения косточек.
Обсуждение и заключение. Анализ зависимости вязкости продукта от температуры пастеризации показывает, что максимальная вязкость продукта получается при температуре пастеризации 81–85 °С. Чтобы предотвратить разрушение скорлупы косточек при отделении мякоти, скорость ребер дробилки не должна превосходить характерной скорости косточек, то есть находиться в диапазоне от 4,5 до 10,5 м/с.
Ключевые слова
Полный текст
Введение
Кисломолочные продукты (кефир, простокваша) относят к вязким (псевдопластичным) жидкостям. До скоростей сдвига 300 с−1 они имеют ярко выраженную аномалию вязкости, а при более высоких скоростях сдвига ведут себя, как ньютоновские жидкости1. Консистенция молочного продукта (сметана, йогурт, кефир) – очень важный критерий, влияющий на спрос потребителя. Кроме того, все более актуален вопрос о лечебно-профилактическом, оздоровительном действии молочных продуктов.
Цель исследования – разработать технологию производства молочного продукта с заданной консистенцией, сбалансированным витаминным составом, необходимыми микроэлементами, антиоксидантами и оптимизировать параметры процессов пастеризации и дробления косточек без попадания частиц скорлупы в продукт.
Обзор литературы
Предшествующие исследователи определили, что на реологические свойства молочных продуктов (вязкость, пластичность) большое влияние оказывает тепловая обработка. Определена оптимальная температура пастеризации: не более 90 °С. Эксперименты показали, что при повышении температуры показатели реологических параметров снижаются. На текучесть и вязкость молочных продуктов существенное влияние оказывает продолжительность и механическое воздействие в период технологического цикла производства продукта. Было выявлено, что наибольшие разрушения структуры молочных продуктов происходят на начальном этапе деформирования структуры2.
В качестве универсального контролируемого реологического параметра молочных продуктов принята величина эффективной вязкости. Для молочных продуктов, имеющих вязкопластичный характер течения, важно контролировать предельное напряжение сдвига и пластическую вязкость3.
Многолетними исследованиями подтверждено, что консистенция является важным элементом в общей органолептической оценке качества молочных продуктов. Регулировать консистенцию молочных продуктов можно структурообразователями, а также с помощью параметров основных технологических процессов переработки: пастеризация, гомогенизация, нагрев и перемешивание при внесении закваски в линиях производства молочных продуктов, в частности кефира и йогурта [1; 2]. При производстве кисломолочных продуктов получается жидкий неоднородный продукт с отстоем сыворотки [1].
На консистенцию кисломолочных продуктов также оказывают влияние механические воздействия на сырье и полуфабрикат и наличие структурообразователей. Пониженная плотность сырья, а также недостаточное содержание белка не позволяют получить вязкий продукт без отделения сыворотки. Огромное воздействие на консистенцию кисломолочных продуктов оказывают режимы работы технологического оборудования. Вязкость кисломолочных напитков зависит от напряжения и скорости сдвига, температуры, содержания жира и кислотности молочного напитка [1; 2].
Консистенция кисломолочных продуктов также зависит от технологических параметров гомогенизации молока. При увеличении дисперсности шариков жира и мицелл казеина получается готовый продукт с однородной консистенцией и устойчивой структурой. Для того чтобы готовый кисломолочный напиток имел заданную консистенцию и структуру, необходимо правильно подбирать технологические параметры производства, такие как тепловые и механические [2].
Для достижения заданной консистенции и структуры готового продукта перспективным решением является добавление в кисломолочный продукт в качестве компонента измельченных плодов зизифуса, содержащих значительное количество пектина.
Основной проблемой производственной реализации такого способа является сложность отделения мякоти плодов от косточки. Поэтому использовать серийную установку для отделения косточек, например зизифуса, сливы, абрикоса, не представляется возможным. Поэтому необходимо проведение исследований для обоснования конструкции и параметров устройства для отделения косточки зизифуса от мякоти.
Попытка применить типовую технологию к переработке косточковых плодов сталкивается с проблемой выбора дробилки. Использование существующих дробилок, которые были разработаны для измельчения овощей и семечковых культур (валковой, ножевой, барабанной), приводит к повреждению косточек. В связи с этим нежелательные компоненты ядер косточек попадают в полуфабрикат и отрицательно влияют на качество пищевого продукта. Фрагменты косточек закупоривают отверстия перфорации протирочной машины и уменьшают ее производительность. Разрушение косточек не позволяет использовать их как вторичное сырье [3].
Если подвергать тепловой обработке целые фрукты, то приходится увеличивать продолжительность тепловой обработки. Опыты показывают, что при этом теряется до 70 % витамина С и других полезных веществ, а пищевая ценность конечного продукта снижается.
Эффективным направлением решения этой проблемы является усовершенствование и использование в технологической линии переработки косточковых плодов роторной дробилки [3]. Для этого необходимо научно обосновать конструкцию, режимы работы и методы расчета такой дробилки.
Материалы и методы
Выявлено, что с изменением кислотности (рН) среды изменяется структурно-механическая характеристика (СМХ) кисломолочного продукта. При изменении рН от 3,8 до 5,5 вязкость Н (Па∙с), измеренная с помощью вискозиметра Гепплера, уменьшается по экспоненциальному закону:
H = 2 000exp(−2,5 pH). (1)
При рН более 5,3 вязкость составляет 3,6 ∙ 10–3 Па∙с. Для получения кисломолочного напитка с нужным вкусом и консистенцией его необходимо перемешивать при рН 4,3–4,6. Тогда готовый продукт будет иметь прочную структуру и сохранит положительные свойства при дальнейшем технологическом процессе, а именно при воздействии механического оборудования. В результате у продукта будет увеличен срок хранения. Вязкость кефира (йогурта) заданного качества составляет 2,8–3,3 Па∙с при касательном напряжении 970 Па или 1,7–1,8 Па∙с при касательном напряжении 1 980 Па. Таким образом, чтобы получить высококачественный кисломолочный продукт (например йогурт, кефир), необходимо в технологическом процессе контролировать показатель рН и вязкость4.
Также на структуру и консистенцию кисломолочных продуктов, наряду с режимами тепловой обработки, влияет закваска5. Во время пастеризации при пониженных температурах сгусток вялый, а при повышении температуры и увеличении времени нагрева сгусток становится плотным и прочным6 [1; 4; 5]. Это связано с повышением степени гидратации и дезагрегации мицелл казеина и увеличением содержания денатурированных сывороточных белков, что в конечном итоге приводит к тому, что жесткость продукта и способность влагоудержания увеличивается [2; 6–8]. При тепловой обработке выше t = 90 °С не получается приготовить кисломолочный напиток с требуемой консистенцией. Он получается жидким7.
Этап, при котором закваска внесена в сырье, и влияние технологических параметров этого процесса на качество продукта изучены. В научной литературе существуют необходимые рекомендации8. Этап, при котором закваска не внесена в сырье, на данный момент не исследован9.
Чтобы подтвердить гипотезу о влиянии тепловой обработки (температуры пастеризации) исходного сырья на консистенцию готового продукта, был поставлен эксперимент. Его результаты позволяют предложить производству оптимальные параметры работы пастеризационно-охладительной установки для производства кисломолочных напитков (йогурт, кефир) [2; 9–11].
При выборе конструктивно-режимных параметров дробилки для измельчения мякоти зизифуса без повреждения косточек в качестве компонента йогурта необходимо выполнить условие, при котором мякоть измельчается, а косточки остаются неповрежденными [3; 12–15].
Ставится задача изучить процесс измельчения плодов зизифуса и проанализировать влияние процессов на качество измельченной мякоти плода и целостность косточки [16–19].
Исследования проводились в условиях лаборатории переработки молока КФУ имени В. И. Вернадского. Для экспериментов использовали исходное сырье при производстве йогурта. Молоко подавалось на подогрев в пластинчатый пастеризатор (рис. 1).
Fig. 1. Alfa Laval pasteurizer-cooler with measuring unit temperature IT-8TP
Была поставлена задача найти оптимальную температуру процесса пастеризации. Диапазон значений температуры пастеризации, согласно техническим условиям, составляет от 74 до 90 °С. Технические данные установки «Альфа Лаваль» позволили соблюсти указанный интервал. Температурный режим контролировался с помощью изменения количества включенных теплоэлектронагревательных элементов в пастеризационной установке. Температуру выставляли на щите управления, входящем в комплект пастеризационно-охладительной установки «Альфа Лаваль» (рис. 2). Точное значение температуры пастеризации фиксировали с помощью измерительного восьмиканального блока «Тэра».
Fig. 2. Measuring unit of temperature IT-8TP
Результаты исследования
Датчики температуры были установлены на различных секциях пастеризатора, в том числе в зоне секции нагрева, где фиксировалась рабочая температура пастеризации (табл.).
Таблица Данные качественных показателей исследуемого продукта при различных значениях температуры пастеризации по показателю условной вязкости, с
Table Data of qualitative indicators of the investigated product at different values of pasteurization temperature in terms of conditional viscosity, s
Температура сквашивания йогурта, °C / Yogurt mixing temperature, °C | Вариант / Option | ||||
1 | 2 | 3 | 4 | 5 | |
Температура пастеризации йогурта, °С / Yogurt pasteurization temperature, °C | |||||
74,0 | 78,0 | 82,0 | 86,0 | 90,0 | |
30,0 | 77,5 | 97,0 | 147,0 | 100,0 | 68,5 |
35,0 | 75,0 | 90,0 | 130,0 | 85,0 | 64,5 |
40,0 | 67,0 | 78,0 | 100,0 | 70,0 | 60,0 |
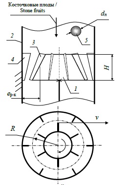
Для проведения экспериментов по режимам дробления косточковых плодов использовалась лабораторно-экспериментальная установка (рис. 3).
4 – неподвижное ребро; 5 – плод
Fig. 3. Diagram of a rotary crusher: 1 – rotor; 2 – case; 3 – movable rib;
Таким образом, учитывая полученные данные, диапазон нагрева 82–85 °С является оптимальным при пастеризации для обеспечения требуемой структуры и оптимизированных энергетических затрат.
Ингредиентом для производства кисломолочного продукта выбран плод зизифус. Плоды зизифуса богаты витаминами C, А, В1, В2, В5, К, Р-активными соединениями, каротиноидами, калием, кальцием, фосфором, магнием, железом, содержат жирное масло. Благодаря витаминам и флавоноидам он обладает антиоксидантными свойствами.
Также зизифус содержит сапонины, являющиеся натуральными противовоспалителями, пектиновые вещества (около 0,5–0,6 % по массе), аскорбиновую кислоту (65–70 мг на 1 000 г). Согласно Т. Ю. Брановицкой, степень этерификации пектина (СЭ) 44 % [9].
Для измельчения плодов зизифуса предлагается применить дробилку с подвижными и неподвижными ребрами. Дробилка состоит из ротора 1, корпуса 2 с зазором между ребрами шириной ер-к и высотой Н (рис. 3). На роторе крепятся вращающиеся ребра 3, а на корпусе – неподвижные ребра 4. Ротор вращается с окружной скоростью v. Плоды 5 поступают в корпус 2 и попадают в зазор между ротором и корпусом, подвергаются ударным воздействиям. Также происходит их защемление между подвижными и неподвижимыми ребрами, вследствие чего происходит их измельчение. Под действием силы тяжести плоды и частицы измельчения проходят через рабочую зону машины и выгружаются.
После проведенного анализа механических свойств плодов и косточек зизифуса было определено, что из воздействующих сил в качестве единицы выбрана наименьшая из них, то есть сила тяжести косточки зизифуса, которая составляет 0,02 Н. На рисунке 4 в логарифмическом масштабе представлено, во сколько раз другие силы превосходят выбранную минимальную силу.
дробилки при переработке плодов: 1 – зизифус; 2 – слива; 3 – абрикос
Fig. 4. Diagram of the relative forces acting on fruits and seeds in the working area of the crusher
during fruit processing: 1 – ziziphus fruits; 2 – plum; 3 – apricot
Установлено, что исследуемые величины сил отличаются друг от друга в 100 000 раз. Определен рабочий диапазон сил, который реализуется в дробилке. Он должен быть больше предела упругости плодов, чтобы измельчить мякоть, и меньше предела упругих деформаций косточек, чтобы сохранить косточки целыми. Из рисунка 4 видно, что при анализе процесса измельчения мякоти плодов зизифуса силами тяжести плодов и косточек можно пренебречь.
Определены силы, которые приводят к измельчению мякоти и повреждению косточек – это силы упругости плодов и косточек.
При столкновении плода (косточки) с подвижными и неподвижными ребрами дробилки примем, что плоды зизифуса и его косточки имеют свойства упругого тела, а ребро машины – абсолютно твердое тело, и его масса превосходит массу плода (косточки).
Рассмотрим следующие показатели:
– скорость плодов vЕп, при которой кинетическая энергия плода mп равняется предельному значению его упругой деформации Еупр.п.:
(2)
– скорость косточки vЕк, при которой кинетическая энергия косточки mк равна предельному значению упругой деформации косточки Еупр.к.
(3)
В итоге конструкцию дробилки можно выразить скоростью vg, которую приобретает частица в результате свободного падения на высоту ротора Н:
(4)
В результате проведенного эксперимента определено, что если нормальная составляющая скорости плода меньше характерной скорости плода относительно ребер, то плод отскакивает от твердой поверхности, если наоборот, то кожица плода повреждается, отделяется частица мякоти, а если скорость больше, то мякоть измельчается, а косточка отделяется. Если относительная скорость косточки меньше характерной скорости косточки, то косточка отскакивает от ребра без повреждений скорлупы. В противном случае возможно разрушение косточки.
На рисунке 5 представлены уровни скоростей дробилки, высота ротора Н = 0,16 м.
1 – зизифус; 2 – слива; 3 – абрикос
Fig. 5. Analysis of the speed regime of crushing stone fruits:
Для того чтобы измельчить мякоть плодов зизифуса и при этом сохранить косточку неповрежденной, скорость ротора дробилки должна составлять от 4,5 до 10,5 м/с (рис. 5).
Обсуждение и заключение
В результате проведенных экспериментов можно сделать заключение, что основными показателями готового кисломолочного напитка являются вязкость и консистенция. Вязкость готового продукта напрямую зависит от температурного режима пастеризации. Установлено, что максимальная вязкость готового продукта достигается при температуре пастеризации 82–85 °С. Если значения температуры превышают указанный диапазон, продукт будет жидкий и иметь структуру в виде крупинок.
Ингредиентом для кисломолочного продукта выбраны плоды зизифуса, которые содержат 8–10 % дубильных веществ, кумарины, флавоноиды, смолы, органические кислоты, среди которых преимущественно яблочная, винная и янтарная кислоты, фолиевая кислота, до 30 % сахаров.
Подготовка зизифуса к внесению в йогурт включает следующие основные операции: приемка, мойка, дробление без повреждения косточек, дозирование, перемешивание. Отделить мякоть плодов от косточек предлагается с помощью роторной дробилки оригинальной конструкции.
В предлагаемой дробилке для измельчения плодов зизифуса происходит разрушение мякоти вследствие ударного действия и сжатие между ребрами корпуса и ребрами вращающегося ротора дробилки. Для того чтобы измельчить мякоть плодов зизифуса и при этом сохранить косточку неповрежденной, скорость ротора дробилки должна составлять от 4,5 до 10,5 м/с.
1 Меркулов М. Ю. Совершенствование и использование методов инженерной реологии для прогнозирования и контроля физико-химических характеристик молочных продуктов в процессе их разработки и производства : дис. ... канд. техн. наук. М., 2003. 226 c. URL: https://www.dissercat.com/content/sovershenstvovanie-i-ispolzovanie-metodov-inzhenernoi-reologii-dlya-prognozirovaniya-i-kontr (дата обращения: 20.12.2021).
2 Там же.
3 Табакаева О. В., Мелькунов В. В. Обоснование использования биологически активного сырья в технологии производства йогурта // Материалы XXI Междунар. науч.-практ. конф. «21 век: фундаментальная наука и технологии». 2019. С. 124–128. URL: https://www.elibrary.ru/item.asp?id=41340218 (дата обращения: 20.12.2021).
4 Там же ; Меркулов М. Ю. Совершенствование и использование методов инженерной…
5 Серазетдинова Ю. Р., Дышлюк Л. С. Разработка технологии производства йогурта, обогащенного экстрактом мяты перечной // Сборник тезисов IX Междунар. науч. конф. студентов, аспирантов и молодых ученых «Пищевые инновации и биотехнологии» в рамках III Международного симпозиума «Инновации в пищевой биотехнологии». Кемерово, 2021. С. 243–245. URL: https://elibrary.ru/item.asp?id=46598094&pff=1 (дата обращения: 20.12.2021).
6 Ермолаев В. А., Гриценко Д., Юрченко В. В. Анализ влияния способа подвода теплоты на процесс вакуумного обезвоживания молочных продуктов // Сборник трудов Международного симпозиума «Инновации в пищевой биотехнологии» ; под общ. ред. А. Ю. Просекова. Кемерово, 2018. С. 290–296. URL: https://elibrary.ru/item.asp?id=35042068 (дата обращения: 20.12.2021).
7 Gabor D., Colombo U., King A. S. Beyond the Age of Waste: A Report to the Club of Rome. 2nd ed. Pergamon, 1981. 258 p. URL: https://www.elsevier.com/books/beyond-the-age-of-waste/gabor/978-0-08-027303-7 (дата обращения: 20.12.2021).
8 Кригер О. В., Сюй В. Разработка поликомпонентного пробиотика на основе лактобактерий, выделенных из национальных кисломолочных продуктов // Сборник трудов Международного симпозиума «Инновации в пищевой биотехнологии» ; под общ. ред. А. Ю. Просекова. Кемерово, 2018. С. 44–47. URL: https://elibrary.ru/item.asp?id=35041989 (дата обращения: 20.12.2021).
9 Козлова О. В., Тултабаева Т. Ч. Совершенствование технологии получения молочно-белковых концентратов, оценка состава и технологических свойств // Сборник трудов Международного симпозиума «Инновации в пищевой биотехнологии» ; под общ. ред. А. Ю. Просекова. Кемерово, 2018. С. 33–44.
Об авторах
Юрий Борисович Гербер
Агротехнологическая академия КФУ имени В. И. Вернадского
Автор, ответственный за переписку.
Email: gerber_1961@mail.ru
ORCID iD: 0000-0003-3224-6833
ResearcherId: B-6690-2019
заместитель директора, заведующий кафедрой технологии и оборудования производства и переработки продукции животноводства
Россия, 295492, г. Симферополь, пос. АграрноеАлександр Викторович Гаврилов
Агротехнологическая академия КФУ имени В. И. Вернадского
Email: tehfac@mail.ru
ORCID iD: 0000-0003-3382-0307
ResearcherId: AAH-5137-2019
и. о. декана факультета механизации производства и технологии переработки сельскохозяйственной продукции, доцент кафедры технологии и оборудования производства и переработки продукции животноводства, кандидат технических наук
Россия, 295492, г. Симферополь, пос. АграрноеСписок литературы
- Гербер Ю. Б., Гаврилов А. В., Киян Н. С. Моделирование процесса тепловой обработки жидких продуктов в пластинчатом теплообменнике с использованием комплексной энергозамещающей установки // Инженерные технологии и системы. 2020. Т. 30, № 2. С. 200–218. doi: https://doi.org/10.15507/2658-4123.030.202002.200-218
- Гербер Ю. Б., Гаврилов А. В. Обоснование параметров механической обработки молока при производстве кисломолочных продуктов // Техника и технология пищевых производств. 2019.Вып. 3. С. 375–382. doi: https://doi.org/10.21603/2074-9414-2019-3-375-382
- Гаврилов А. В. Процессы измельчения мякоти косточковых плодов и повреждения косточек в роторной дробилке // Холодильная техника и технология. 2006. № 4. С. 112–114.
- Доровских В. И., Доровских Д. В., Альлами С. Обоснование критериев оценки эффективности использования оборудования для первичной обработки молока // Наука в центральной России.2016. № 5. С. 62–69. URL: https://elibrary.ru/item.asp?id=27202673 (дата обращения: 20.12.2021).
- Банникова А. В. Новые технологические решения по созданию йогуртов с пищевыми волокнами // Техника и технология пищевых производств. 2014. № 3. С. 5–10. URL: https://www.fptt.ru/upload/journals/fptt/34.pdf (дата обращения: 20.12.2021).
- Долматова О. И., Красноженова А. В. Изучение реологических свойств кефирного продукта // Вестник Воронежского государственного университета инженерных технологий. 2021. Т. 83. № 3.С. 73–77. URL: https://www.vestnik-vsuet.ru/vguit/article/view/2812/4216 (дата обращения: 20.12.2021).
- Кригер О. В., Носкова С. Ю. Разработка приемов длительного сохранения свойств молочно-кислых микроорганизмов // Техника и технология пищевых производств. 2018. № 4. С. 30–38. doi:https://doi.org/10.21603/2074-9414-2018-4-30-38
- Бровцин В. Н., Эрк А. Ф. Оптимизация параметров солнечной водонагревательной установки методом вычислительного эксперимента // Технологии и технические средства механизированного производства продукции растениеводства и животноводства. 2013. Вып. 84. С. 112–125. URL:https://www.elibrary.ru/item.asp?id=22677098 (дата обращения: 20.12.2021).
- Брановицкая Т. Ю., Кожарский Г. Н. Изучение возможности использования плодов зизифуса в производстве кондитерских изделий желейной структуры // Ученые записки Крымского федерального университета имени В. И. Вернадского. Биология. Химия. 2021. Т. 7, № 1. С. 243–248. URL: http://sn-biolchem.cfuv.ru/wp-content/uploads/2021/05/22_Branovitskaya.pdf (дата обращения: 20.12.2021).
- Clapp J., Newell P., Brent Z. W. The Global Political Economy of Climate Change, Agriculture and Food Systems // The Journal of Peasant Studies. 2018. Vol. 45, Issue 1. Р. 80–88. doi: https://doi.org/10.1080/03066150.2017.1381602
- Govindan K. Sustainable Consumption and Production in the Food Supply Chain: A Conceptual Framework // International Journal of Production Economics. 2018. Vol. 195. Р. 419–431. doi: https://doi.org/10.1016/j.ijpe.2017.03.003
- Understanding and Managing the Food-Energy-Water Nexus – Opportunities for Water Resources Research / X. Cai [et al.] // Advancesin Water Resources. 2018. Vol. 111. Р. 259–273. doi: https://doi.org/10.1016/j.advwatres.2017.11.014
- Prosekov A. Y., Ivanova S. A. Food Security: the Challenge of the Present // Geoforum. 2018.Vol. 91. Р. 73–77. doi: https://doi.org/10.1016/j.geoforum.2018.02.030
- Thin Film Solar Cells Based on CdTe and Cu(In,Ga)Se2 (CIGS) Compounds [Электронный ресурс] / P. P. Gladyshev [et al.] // Journal of Physics: Conference Series. 2006. Vol. 291. doi: https://doi.org/10.1088/1742-6596/291/1/012049
- Determination of Basic Parameters of Solar Panels / K. Tepe [et al.] // Alternative Energy and Ecology. 2010. Issue 2. P. 22–27. URL: https://elibrary.ru/item.asp?id=14671143
- Development of Wave Technologies to Intensify Heat and Mass Transfer Processes / O. Burdo [et al.] // Technology and Equipment of Food Production. 2017. Vol. 4, Issue 11. Р. 34–42. doi: https://doi.org/10.15587/1729-4061.2017.108843
- Burdo O. G., Bandura V. N., Levtrinskaya Yu. O. Electrotechnologies of Targeted Energy Delivery in the Processing of Food Raw Materials // Surface Engineering and Applied Electrochemistry. 2018.Vol. 54, Issue 2. Р. 210–218. doi: https://doi.org/10.3103/S1068375518020047
- Sabarez H. T. Thermal Drying of Foods [Электронный ресурс] // Fruit Preservation. Food Engineering Series ; A. Rosenthal, R. Deliza, J. Welti-Chanes, G. Barbosa-Cánovas (eds.). New York : Springer,2018. doi: https://doi.org/10.1007/978-1-4939-3311-2_7
- Kumar C., Karim M. A. Microwave-Convective Drying of Food Materials: A Critical Review // Critical Reviews in Food Science and Nutrition. 2019. Vol. 59, Issue 3. Р. 379–394. doi: https://doi.org/10.1080/10408398.2017.1373269
Дополнительные файлы

























