Experimental study of pargasite NaCa2 (Mg4Al)[Si6Al2O22](OH)2 stability at T = 1000–1100°C and the pressure is up to PH2O = 5 kbar
- Авторлар: Devyatova V.N.1, Nekrasov A.N.1, Bondarenko G.V.1
-
Мекемелер:
- D.S. Korzhinskii Institute of Experimental Mineralogy of Russian Academy of Sciences
- Шығарылым: Том 69, № 2 (2024)
- Беттер: 49-65
- Бөлім: Articles
- URL: https://journal-vniispk.ru/0016-7525/article/view/263024
- DOI: https://doi.org/10.31857/S0016752524020035
- EDN: https://elibrary.ru/KPAMGC
- ID: 263024
Дәйексөз келтіру
Толық мәтін
Аннотация
The paper presents materials on experimental study of pargasite stability. On the example of calcic amphibole, experimental modeling of the processes occurring in the conditions of volcanic hearth at pressures up to 5 kbar was carried out. The phase diagram of pargasite was clarified. The occurring reactions and their parameters are revealed. Based on the experimental data obtained, the stability of pargasite is controlled by three reactions. The first reaction takes place in the area of low water pressure less than 1 kbar – dehydration reaction: Prg = Fo + Sp + Di + Ne + An + H2O. The second reaction takes place in the area of water pressure more than 1.2-1.5 kbar and temperature around 1100°C. Pargasite decomposition is controlled by incongruent melting: Prg = Fo + Sp + { Di+Ne +An }L + H2O. The third reaction takes place in the same pressure range as the previous one, but at lower temperatures ~1050 °C. This reaction determines the pargasite liquidus in the melt and is related to the interaction between the amphibole and the coexisting melt: Prg + L = Fo + Sp + Di + {Ne +Pl}L + H2O. Presumably, the activity of the melt silica aSiO2 has the greatest impact on the pargasite liquidus.
Негізгі сөздер
Толық мәтін
Введение
Кальциевые амфиболы являются типичными темноцветными минералами эффузивных пород. В общем виде амфиболы описываются формулой А(М4)2[(М2)2(М1)2(М3)][(Т1)4(Т2)4О22](ОН, F, Cl)2, где существуют 7 неэквивалентных катионных позиций. Магматические амфиболы – распространенные породообразующие минералы, отражающие наличие и состав летучих расплава. Из-за широкого спектра изоморфизма амфиболы продолжают оставаться слабоизученными твердыми растворами.
Существование амфиболов ограниченно по давлению воды дегидратацией (Gilbert, 1966) или реакцией разложения (breakdown reaction) (Boyd, 1959). Реакция имеет небольшой положительный наклон dРH2O/dT ~ 5 бар/град при аH2O = 1. По температуре устойчивость амфибола контролируется инконгруэнтным плавлением, обычно малозависящим от давления dРH2O/dT ~ 300–400 бар/град (Holloway, 1973; Merril, Wyllie, 1975; Frost, 2006) (рис. 1).
Рис. 1. Фазовая диаграмма паргасита NaCa2(Mg4Al)[Si6Al2O22](OH)2 по литературным данным. 1 – Holloway, 1973; Boyd 1959; Lykins, Jenkins 1992; 2, 3 – опыты серии 1: 2 – подход по температуре снизу; 3 – сверху, описание в тексте; Cpx – клинопироксен; Opx – ортопироксен; L – расплав; обозначения минералов см. табл. 3.
Реакции, ограничивающие стабильность, в магматических роговых обманках проявляются в виде кайм вокруг амфибола или полностью опацитизированных зерен. Впервые дегидратация амфибола была получена при нагревании в 1927 году (Kozu, Yoshiki, 1927) и за последние 100 лет изучена большим числом исследователей. (Boyd 1959; Gilbert 1966; Holloway 1973; Rutherford, Hill, 1993). Каймы амфибола, возникающие при нагревании при давлении РH2O ≥ 1.4 кбар, были получены только в нескольких работах (De Angelis et al., 2015; Rutherford, Devine, 2003; Rutherford, Hill, 1993). О механизме их образования нет единого мнения. Де Ангелис с соавторами (2015) детально изучили состав новообразованной оторочки и не выявили различий между декомпрессионными каймами амфибола и полученными при подъеме температуры.
Таким образом, на сегодняшний день отсутствуют критерии, позволяющие разделить декомпрессионные каймы и возникающие при повышении температуры. Недостаточное внимание уделено еще одному возможному способу образования оторочек магматических роговых обманок – взаимодействию с расплавом другого состава. Такой механизм может иметь место в условиях вулканических очагов в случае поступления новых порций магмы. Это обсуждается в ряде работ (Плечов и др., 2008; Bukley et al., 2006; Rutherford, Hill, 1993), но экспериментальные исследования на сегодняшний день отсутствуют.
Работа посвящена исследованию устойчивости амфибола при нагревании и изучению взаимодействия амфибола и расплавов различной кремнекислотности. Для моделирования поведения амфибола мы использовали паргасит – крайний член изоморфного ряда кальциевых амфиболов (ферро)эденит-(ферро)паргасит. Это типоморфный минерал метаморфизованных карбонатных и ультраосновных пород. Но в редких случаях его находки встречаются в гранитах (Barboni, Bussy, 2013), щелочных базальтах, перидотитах (Martin, 2007; Shaw, Eyzaguirre, 2000).
Методика
Опыты проводились c синтетическим магнезиальным паргаситом. Отсутствие железа в составе амфибола позволяет избежать миграции железа в стенки ампул и изменения Fe3 + /Fe2 + в течении опытов. Для синтеза паргасита были использованы реактивы CaCO3 (осч), MgO (хч), Al2O3 (хч), SiO2 (синт.), альбит (м-е Калба, Казахстан). Вещества предварительно прокаливались 12 часов при 1000°С в печи КО-14. Навески брались в соответствии со стехиометрией паргасита. Взвешивание производилось на аналитических весах AUW220D, Япония, точность измерения ± 0.1 мг. Смесь гомогенизировали в ступке 10–15 мин, просушивали 60 мин при 120°С и загружали в Au ампулу. Добавлялось 20 мас. % дистиллированной воды. Синтез проводился по методике Шармы (Sharma, 1996) (табл. 3). Были получены таблитчатые кристаллы белого цвета. Средний размер зерен 30 × 10 мкм. В табл. 1 и 3 состав синтезированного амфибола обозначен р6.
Таблица 1. Химический состав и кристаллохимическая формула синтезированного амфибола (p6) из расчета на 16 катионов
p6{7} | |||
Компонент | мас. % | Атом | ф.е. |
SiO2 | 42.82 (1.29) | Si | 6.09 |
Al2O3 | 16.69 (1.71) | AlIV | 1.91 |
AlVI | 0.88 | ||
FeOtot | 0.17 (0.24) | Fetot | 0.02 |
MgO | 18.84 (0.48) | Mg | 3.99 |
CaO | 14.02 (0.42) | Ca | 2.13 |
Na2O | 3.65 (0.30) | Na | 0.98 |
Total | 96.37 | ||
H2O* | 2.28 (0.11) | OH | 2.12 |
Примечания. ф.е. – формульные единицы; { } – количество анализов; () – стандартное отклонение; * – вода по данным KFT.
Паргасит исследован на сканирующем электронном микроскопе методом энергодисперсионной рентгеновской спектроскопии (SEM-EDS) По данным микрозондового анализа амфибол однороден и отвечает стехиометрии паргасита (табл. 1). На рентгенограмме посторонних пиков не выявлено.
При моделировании взаимодействий амфибола с расплавами использовались (табл. 2): нефелин, в дальнейшем обозначен как Ne (Вишневые горы, Урал), и альбит-диопсидовый состав (AbDi), приготовленный из безжелезистой гелевой смеси. Первоначально гелевая смесь наплавлялась в высокотемпературной печи СНОЛ 12/16 при 1450°C (табл. 2). Затем, для получения водосодержащего стекла AbDi состава, переплавлялась на УВГД при 1250°C, PH2O = 1 кбар. Стекло, использовавшееся в опытах, частично раскристаллизовано. В его составе присутствует закалочный диопсид.
Таблица 2. Химические составы модельных расплавов (мас. %)
Компонент | AbDi{6} | Ne{5} |
SiO2 | 60.24(1.52) | 44.65(0.91) |
Al2O3 | 8.7(0.5) | 32.05(0.74) |
FeO | – | 0.59(0.30) |
MgO | 13.43(0.38) | – |
CaO | 13.5(0.87) | 0.71(0.46) |
Na2O | 4.0(0.66) | 16.09(0.78) |
K2O | – | 3.89(0.25) |
total | 99.44 | 100 |
H2O* | 2.7 (0.15) | – |
Примечания. { } – количество анализов; () – стандартное отклонение; – менее предела обнаружения; * – вода по данным KFT, описание в тексте.
Паргасит закладывался в Pt-ампулу диаметром 3 мм и длиной 15 мм, в количестве ~20–30 мг. Для опытов с предварительной выдержкой при 1250°С использовалась оксидная смесь паргаситового состава. Опыты велись в водонасыщенных условиях. Добавлялась дистиллированная вода 10–20 % от веса навески и ампула заваривалась. Соотношение амфибол/модельный расплав составляло (8–10)/1 по массе. Содержание воды и герметичность ампул контролировалась весовым методом.
Опыты проводились на установке высокого газового давления УВГД-10000 с быстрой закалкой. Скорость остывания 100–150°C/сек. В течение эксперимента ампула была подвешена на вольфрамовой проволоке в безградиентной зоне УВГД. После завершения опыта на проволоку подавался электрический импульс, проволока пережигалась и ампула падала в холодную зону установки c температурой 15–30°C. Время экспериментов 2.5 мин – 3 суток.
При изучении разложения, поведения при нагревании и взаимодействия с расплавами использовался подход к равновесию по температуре “снизу”. При этом образец под давлением, заданным в опыте, за 20–30 мин выводился до температуры эксперимента и выдерживался. При моделировании кристаллизации амфибола из расплава использовался подход по температуре “сверху”. Образец предварительно выдерживался под давлением при 1250°C, 2–24 часа, и затем температура за 3–5 мин сбрасывалась до температуры опыта.
Равновесие достигнуто не во всех опытах. По нашим данным в опытах с подходом по температуре снизу при РH2O = 2 кбар равновесие достигалось за 24 часа. В опытах с подходом по температуре сверху близкие к равновесию парагенезисы появлялись за 20 мин. Для 5 кбар равновесие снизу при температурах опыта 1050–1100°C достигалось менее, чем за 4 часа.
Температура калибровалась по точкам плавления при 2 кбар цинка 428°C и золота 1073°C (Cannon, 1974). Точность задания температуры составляла ±5–7°C, давление контролировалось с помощью манометра Бурдона (3–4 % от измеряемой величины) и пьезорезистивного датчика давления, откалиброванного по поршнево-наружному манометру (точность 0.5 % от измеряемой величины).
Продукты опытов изучались методом локального рентгеноспектрального микроанализа (SEM-EDS) с применением цифрового электронного сканирующего микроскопа Tescan VEGA II XMU, оснащенного энергодисперсионным рентгеновским анализатором INCA Energy 450 (EDX) с полупроводниковым детектором Si(Li) INCA x-sight. Анализ выполнялся при ускоряющем напряжении 20 kV, ток пучка 200 pА, время набора спектра 70 с. Состав стекол проводился путем анализа площадок. В случае небольших выделений стекла, анализ проводился в точке, что могло приводить к искажению состава за счет миграции натрия из точки анализа и захвата зоной рентгеновского возбуждения вмещающего минерала. Анализ изображений проводился с помощью программы Atlas ver. 3.5.20.0 программы INCA Suite ver. 4.15.
Спектры комбинационного рассеяния получены на спектрометре RM1000, оснащенном CCD камерой, краевым фильтром и микроскопом Leica. Для возбуждения спектров использовался твердотельный лазер с диодной накачкой и длиной волны 532 нм. Лазерный пучок фокусировался на образце 50-кратным объективом. Параметры эксперимента: мощность лазера 22 mW, спектральная ширина щели 50 микрон, время сканирования спектров – 5 × 10 сек. Обработка спектров производилась с помощью программы СrystalSleuth version 2008 RRUFF project (Lafuente et al., 2015).
Для определения содержания воды использовался метод Карл-Фишер титрования (KFT) с использованием прибора AQUQ 40 c нагревательным модулем для твердых веществ. Образцы вводились в предварительно нагретую до 1000°C печь (Путилин и др., 1987). Дегидратация велась в аргоновой атмосфере.
Рентгеновское исследование образцов проводилось на настольном дифрактометре D2 PHASER (Brucker) с шагом 0.02°C. Анализ порошковых дифрактограмм проводился с использованием базы данных ICDD PDF-2.
Экспериментальная часть
Были проведены 2 серии опытов. В серии 1 (рис. 1, табл. 3) изучены термическая устойчивость паргасита, время, за которое происходят изменения, и составы фаз. Опыты проводились как в поле устойчивости паргасита, так и превышали параметры предполагаемого Холлоуэем (1973) плавления паргасита. Эксперименты выполнялись при РH2O = 0.001–5 кбар, температурах 1000–1100°С, времени 2.5 мин – 4 дня.
Таблица 3. Таблица опытов. Серия 1
№ опыта | Исх. | T1–T2–T3 | P1–P2 | t1–t2–t3 | Фазы после опыта |
p6* | ox | 930 | 4–1 | 96–144 | Prg (Di) |
термическая устойчивость паргасита | |||||
p50 | p6 | 1070 | 0.001 | 96 | Fo,Di,Ne,Pl90-91 |
p19 | p6 | 1100 | 0.001 | 0.6 | Fo,Di, G |
p38a | p6 | 1000 | 0.65 | 96 | Prg,Fo,Di,(Sp),Pl86,Ne |
p46 | ox | 1000 | 0.55 | 168 | Fo,Di,Sp,Pl85-91, Ne |
p17 | p6 | 1100 | 0.54 | 0.58 | Fo,Di,G |
p29 | p6 | 1000 | 1.07 | 24 | Prg |
p24* | p6 | 1100 | 1.16 | 0.04 | Fo,Di,Pl87,G |
p28 | p6 | 1000 | 1.95 | 4 | Prg,Fo,Di,(Sp),(G) |
p35 | p6 | 1000 | 2.08 | 72 | Prg,(Fo),Di,(Pl80-85),(G) |
p33* | p6 | 1025 | 2.1 | 4 | Prg,Di |
p32 | p6 | 1050 | 2.05 | 4 | Prg,(Di) |
p54 | p6 | 1050 | 2.14 | 24 | Fo,G |
p130 | p6 | 1060 | 2.5 | 24 | Fo,G |
p55 | р6 | 1070 | 2.1 | 11 | Prg,Fo,Di,(Sp),(G) |
p48 | p6 | 1070 | 2.05 | 96 | Fo Di,G |
p36 | p6 | 1075 | 2.03 | 4 | Prg,(Fo),Di,(G) |
p37 | p6 | 1087 | 2.05 | 4 | Prg,Fo,Di,G |
p27, р38 | p6 | 1100 | 2.02 | 0.05 | Fo,Di,G |
p12, р14 | p6 | 1100 | 1.9 | 4 | Fo,G |
P124 | p6 | 1050 | 5.28 | 4.1 | Prg,Fo,(Di),G |
p90 | p6 | 1065 | 5.13 | 0.25 | Prg,Fo,Di,G |
p87 | p6 | 1070 | 5.26 | 4 | Fo,G |
P126 | p6 | 1085 | 5.4 | 2.3 | Fo,G |
p98 | p6 | 1100 | 5.41 | 0.03 | Fo,G |
кристаллизация паргасита | |||||
p83, p85 | ox | 1250–1000 | 2.14 | 2–1 | Prg,Fo,Di,G |
p60 | ox | 1250–1025 | 2.14 | 2–1 | (Prg),Fo,Di,G |
p61 | ox | 1250–1050 | 2.15 | 4–0.25 | Fo,G |
p113 | р6 | 1250–1000–1050 | 2.15 | 2–1–24 | Fo,G |
p66, p67 | ox | 1250–1010–1060 | 2.15 | 2–1–0.33 | Fo,G |
p88, р89 | ox | 1250–1045 | 5.15 | 2–1 | Prg,Fo,Di,G |
Примечания. исх. – составы, заложенные в опыты: ox – смесь окислов, p6 – синтетический паргасит; T – температура оС, P – давление, кбар, t – время, часы, 1,2,3 – изменение параметров в течение опыта, () – незначительное количество фазы, * – закалка 300oC/мин, название опытов через запятую – несколько экспериментов при одинаковых параметрах; Фазы: AbDi – альбит-диопсидовое стекло, Di – диопсид, Fo – форстерит, G – стекло, G0 – реликт первичного стекла, Ne – нефелин, Pl – плагиоклаз, индекс – анортитовый минал (мол.), Prg – паргасит, Sp – шпинель.
В серии 2 (табл. 4) изучено поведение паргасита при взаимодействии с Ne- и AbDi-составами. Опыты проводились при 1050–1085°С, РH2O = 2–5 кбар, 2–24 часа. Р, Т-параметры экспериментов превышали параметры предполагаемого Холлоуэем (1973) инконгруэнтного плавления паргасита.
Таблица 4. Таблица опытов. Серия 2
№ опыта | Исх. | T1–T2–T3 °C | P | t1–t2–t3 | Фазы после опыта |
p101 | p6 + AbDi | 1050 | 2.18 | 4 | Prg,Fo,Di,Pl85,G,G0 |
p107 | р6 + AbDi | 1060 | 2.36 | 24 | (Prg),Fo,Di,Pl87,G |
p100 | p6 + Ne | 1050 | 2.18 | 4 | Prg,(Fo),(Di),G |
p105 | p6 + Ne | 1060 | 2.36 | 24 | Prg,Fo,(Di),G |
P204 | p6 + Ne | 1080 | 2.0 | 4 | Prg,Fo,(Di),G |
p108, p110 | p6 + Ne | 1250–1050 | 2.23 | 24–2 | Fo,(Di),G |
р111, р112 | р6 + Ne | 1250–1000–1050 | 2.25 | 2–1–24 | Fo,G |
P127 | р6 + Ne | 1050 | 5.28 | 4.1 | Prg,Fo,(Di),G |
P129 | р6 + Ne | 1085 | 5.4 | 2.3 | Prg,Fo,G |
Примечания. Cокращения см. табл. 3.
Результаты экспериментов
Продуктами опытов обычно являлись: столбик матового стекла или плотный спек порошка и капли воды. Условия и фазовый состав опытов представлены в табл. 3, 4. В продуктах экспериментов присутствовали паргасит, оливин, клинопироксен, шпинель, нефелин, плагиоклаз, стекло (рис. 3, 4).
Исходный паргасит оставался главной фазой в опытах серии 1 с подходом снизу в 4-часовых опытах в области собственной устойчивости, а для 2 кбар при температуре выше предполагаемой Холлоуэем температуры плавления. Его доля в образце без учета газовых пузырьков составляла ~95 об. %. Паргасит сохраняет идиоморфную форму. Помимо паргасита в образце появлялось стекло, клинопироксен, форстерит и шпинель. Стекло цементирует образец, образуя плотный спек. Стекло распределяется по образцу неравномерно. Присутствие в опыте около 20 мас. % воды приводит к снижению объемной доли стекла и сглаживанию кристаллов паргасита. Увеличение количества расплава с ростом температуры при 4-часовой выдержке при 2 кбар не происходит. После нагревания у некоторых амфиболов по границам появляются срастания с клинопироксеном (рис. 2а, 2б). Форстерит и шпинель образуют неограненные вростки внутри паргасита и не контактируют с расплавом.
Рис. 2. BSE-фотографии продуктов опытов серии 1 после нагревания паргаситапри PH2O = 2 кбар, 4 ч: а) 1000°С (p28); б) 1087°С (р37); обозначения минералов см. табл. 3.
Рис. 3. a) Составы полученных амфиболов на классификационной диаграмме (ф. е.): 1 – миналы; 2 – опыты с паргаситом серий 1 и 2; Миналы: Act – актинолит, Arf – арфедсонит, Eck – экерманит, Ed – эденит, Hbl – роговая обманка, Hst – гастингсит, Gln – глаукофан, Ktf – катофорит, Prg – паргасит, Trm – тремолит, Rbk –рибекит, Rсt – рихтерит, Ts – чермакит. б) КР-спектры неориентированных кристаллов паргасита после нагревания при PH2O = 2 кбар: а – паргасит RRUFF; б – 1000°С, (p28); в –1075°С, (p36); г –1070°С, (p55); д –1087°С, (p37).
Рис. 4. (а, б) Диаграммы состав-парагенезис (ат. %). Продукты опытов серии 1, на рис. 4а только составы стекол. 1 – исходный паргасит, 2 – парагенезис c паргаситом, 3 – без паргасита, 4 – составы стекол опыта р90. Фазы: Ab – альбит, An – анортит, G1, G2 – стекла с расчетным плагиоклазом и анортитовые, Qz – кварц, Wo – волластонит, обозначения минералов см. табл. 3, 5.
При длительности опыта 11-часов при 2 кбар грани кристаллов паргасита частично сглаживаются, что, видимо, связано с частичным растворением во флюиде, доля стекла уменьшается, увеличивается пористость образца.
При T ≥ 1050°С, что выше предполагаемой Холлоуэем температуры плавления, за 24 часа равновесным парагенезисом становятся форстерит, диопсид и расплав. Это согласуется с литературными данными (Holloway, 1973). Однако введение в систему нефелина в опытах серии 2 приводит к сохранению паргасита в новообразованном расплаве при аналогичных параметрах (рис. 5а). При введении более кремнекислого AbDi-состава амфибол сохраняется в виде единичных округлых включений диаметром до 5 мкм в диопсиде. В случае меньшей временной выдержке вокруг реликтовой паргаситовой области формируются реакционные зоны: диопсид-плагиоклазовая и форстерит-диопсидовая (рис. 5б).
Рис. 5. BSE-фотографии продуктов опытов серии 2. Взаимодействие паргасита с a) AbDi при 10500С, 4 ч (p101); б) Ne при 10600С, 24 ч (р105); Gl1,2,3 – стекла зон реакционной каймы, G0 – реликтовое стекло AbDi-состава, обозначения минералов см. табл. 3.
После нагревания паргасита при РH2O = 5 кбар 1065°С и 15 мин зафиксирована неполная смена паргаситового парагенезиса на форстеритовый. В образце наблюдались три, примерно равные, зоны – паргаситовая с небольшим количеством расплава ~5 об. %, паргасит-диопсид-форстеритовая с содержанием расплава 30–40 об. %, и форстеритовая с 60–70 об. % расплава. Паргаситовая зона аналогична образцам, возникающим в опытах серии 1 при подходе по температуре снизу при нагревании паргасита (рис. 2б). В паргасит-диопсидовой зоне значительно возрастало количество диопсида, паргасит-диопсидовых сростков и форстерита. В оливиновой зоне диопсид и паргасит отсутствовали.
Подъем температуры до 1100°С приводил к полному исчезновению паргасита за 2.5–3.5 мин и появлению форстеритового парагенезиса. За время опыта в стекле вырастают таблитчатые кристаллы форстерита, размером 10 × 10 мкм.
При кристаллизации амфибола из расплава, последний амфибол появляется при температурах 1025 и 1045°С при 2 и 5 кбар соответственно. Паргасит формирует призматические кристаллы. Доля и размер кристаллов амфибола увеличиваются с понижением температуры. При 1000°С размер кристаллов составляет 200 × 50 мкм, доля возрастает до 20–30 об. % Количество расплава в зависимости от температуры меняется, но составляет не менее 30–40 об.% при 1000°С. Диопсид формирует крупные ромбовидные кристаллы, сростки 200 × 50 мкм. Форстерит обычно встречается в виде таблитчатых кристаллов 50 × 30 мкм, с ростом переохлаждения появляются футляровидные кристаллы до 100 × 30 мкм. При добавлении нефелина Ne к заложенной в опыт оксидной паргаситовой смеси за 24 часа при РH2O = 2 кбар и 1050°С амфибол не кристаллизуется.
Состав фаз после опытов
Паргасит. Состав паргасита после опытов серий 1 и 2 близок к чистому миналу (рис. 3а). По полученным спектрам комбинационного рассеяния структурные единицы амфибола после нагревания сохраняются (рис. 3б). Наблюдаемые высокочастотные пики 3678 и 3709 см–1 свидетельствуют о присутствии гидроксильной группы в амфиболе при нагревании до 1087°С. По литературным данным (Della Ventura et al., 1999) наблюдаемые пики 3678 и 3709 см–1 характерны для амфиболов с заселенной щелочами А-позицией.
В составе паргасита серии 2 в случае добавления нефелина содержание K2O у части амфиболов сохранялось меньше предела обнаружения, у амфиболов вблизи предполагаемого контакта с нефелином возрастало до 0.44 ± 0.16 мас. % (приведено к Σ100 мас. %).
Клинопироксен. В продуктах опытов можно выделить две группы клинопироксенов. Первая группа – клинопироксен с содержанием глинозема Al2O3 = 9.9 ± 1.7 мас. %. Встречается в опытах с подходом по температуре снизу. По номенклатуре Моримото с соавторами (Morimoto et al., 1988) является диопсидом. Вторая группа – с содержанием глинозема до Al2O3 = 19.7 ± 1.3 мас. % – диопсид с содержанием кушироитового минала до ~48–50 мас. % (Kimura et al., 2009). Содержание SiO2 в клинопироксенах за счет гетеровалентного изоморфизма чермакитового типа варьирует от 52 мас. % до 41 мас. %.
Оливин. Шпинель. Состав оливина отвечает форстериту. В кристаллах возможна примесь CaО до 0.98 ± 0.42 мас. %. Состав шпинели близок к обычной магнезиальной шпинели MgAl2O4. BSE-изображения шпинели, получаемые с помощью электронного сканирующего микроскопа, плохо отличимы от форстерита. Это затрудняет идентификацию шпинели в продуктах опытов.
Нефелин. Плагиоклаз. Большинство экспериментов выполнено выше параметров водонасыщенной Ne–Pl–Di тройной эвтектики. Нефелин встречался в опытах по дегидратационному разложению, плагиоклаз либо при субсолидусных условиях, либо в составе реакционной каймы. Состав нефелина – Na0.72Ca0.12Al0.96Si1.0O4, плагиоклаза – An80–91 (мол. %).
Алюмосиликатное стекло. Стекло обнаружено в продуктах опытов при Р, T-параметрах области устойчивости паргасита, и выше по температуре (рис. 2а, 2б).
Алюмосиликатные стекла серий 1 и 2 по пересчету на нормативный минеральный состав CIPW – нефелин-нормативные (рис. 4а, 4б). Отличительной особенностью расплавов серии 1, ассоциирующих с паргаситом, является присутствие в их составе расчетного плагиоклаза (G1), тогда как беспаргаситовые – анортитовые (G2), Стекла G1, равновесные с паргаситом в среднем содержат около SiO2 = 51.3 ± 2.3 мас. % (приведено к ∑100 мас. %), тогда как беспаргаситовые стекла G2 менее кремнистые SiO2 = 45.3 ± 0.9 мас. % (приведено к ∑100 мас. %). Появление расчетного плагиоклаза в составе стекол с паргаситом наблюдается для стекол, полученных как при подходе к равновесию по температуре сверху, так и снизу (табл. 5). Эволюция расплава зафиксирована в опыте p90. Переход от стекол G1 к G2 в опыте р90 сопровождался падением содержания в стекле SiO2, Al2O3, Na2O и ростом содержаний MgO и CaO (табл. 5).
Таблица 5. Химические составы стекол (мас. %) для некоторых опытов серии 1
Компонент | p28{3}↑ | p37{5}↑ | p83{3} ↓ | p89{4} ↓ | 88{4} ↓ | p86{3} ↑ | p90-1{4} ↑ | p90-2{4}↑ | p90-3{3} ↑ |
SiO2 | 47.52(1.18) | 45.90(0.76) | 45.78(0.88) | 43.73(0.40) | 49.57(1.03) | 42.43(0.44) | 39.22(1.03) | 38.29(0.52) | 40.15(0.98) |
Al2O3 | 21.58(0.24) | 23.16(1.61) | 24.01(0.62) | 23.98(0.32) | 26.46(0.63) | 23.39(0.54) | 23.83(0.77) | 20.53(0.19) | 21.44(0.93) |
MgO | 2.37(0.36) | 8.99(1.55) | 3.93(0.33) | 2.59(0.24) | 4.49(0.25) | 7.19(0.97) | 2.0(0.14) | 3.23(1.41) | 4.12(0.42) |
CaO | 7.02(1.41) | 8.36(0.96) | 7.67(1.50) | 9.48(0.31) | 10.33(0.71) | 12.87(0.66) | 12.12(0.82) | 14.46(0.62) | 17.37(0.56) |
Na2O | 7.09(0.53) | 5.17(0.60) | 9.33(0.62) | 8.68(0.08) | 7.79(0.11) | 5.13(0.16) | 6.25(0.33) | 4.24(0.17) | 4.50(0.71) |
total | 85.99 | 89.86 | 90.72 | 88.51 | 98.63 | 91.2 | 83.3 | 80.75 | 87.3 |
CIPW | |||||||||
An | 27.1 | 40.0 | 23.6 | 26.5 | 39.3 | 40.8 | 37.0 | 37.0 | 38.3 |
Ab | 38.8 | 24.9 | 21.6 | 15.6 | 12.8 | 4.4 | 6.9 | 3.9 | - |
Ne | 11.5 | 10.2 | 31.1 | 31.3 | 48.2 | 21.1 | 24.9 | 17.3 | 20.6 |
Di | 6.0 | 1.2 | 11.2 | 13.9 | 14.8 | 17.9 | 10.7 | 17.4 | 22.1 |
Fo | 2.2 | 15.3 | 3.2 | – | 9.0 | 6.7 | – | - | – |
Wo | – | – | – | 1.1 | – | – | 3.9 | 5.2 | 1.9 |
Lrn | – | – | – | – | – | – | – | – | 4.6 |
Компонент | p54{5} ↑ | p130{3} ↑ | p48{3} ↑ | p61{5} ↓ | p113{4}↓ ↑ | p66{6} ↓↑ | p87{5} ↑ | p12{7} ↑ | p14{4} ↑ |
SiO2 | 41.25(0.97) | 40.09(0.61) | 43.84(0.79) | 42.9(0.7) | 43.39(0.50) | 42.25(0.39) | 39.66(0.76) | 42.71(0.56) | 43.81(0.82) |
Al2O3 | 21.71(0.54) | 22.13(0.38) | 23.79(0.35) | 24.22(0.9) | 22.75(0.53) | 23.14(0.24) | 21.23(0.42) | 23.16(0.29) | 23.53(0.33) |
MgO | 8.23(0.23) | 4.49(1.15) | 6.16(0.25) | 4.38(1.02) | 7.74(0.54) | 8.69(0.18) | 5.91(0.60) | 6.58(0.40) | 6.82(0.64) |
CaO | 15.52(0.30) | 16.54(1.06) | 13.71(0.28) | 18.57(0.64) | 17.63(0.39) | 17.59(0.22) | 16.22(0.29) | 17.66(0.38) | 17.54(0.35) |
Na2O | 4.13(0.17) | 4.85(0. 41) | 6.57(0.29) | 4.47(0.31) | 4.54(0.16) | 4.09(0.21) | 3.82(0.30) | 4.73(0.22) | 5.16(0.10) |
total | 90.85 | 88.34 | 94.28 | 94.77 | 96.37 | 95.79 | 87.15 | 95.17 | 97.19 |
CIPW | |||||||||
An | 40.7 | 38.6 | 35.4 | 46.0 | 41.7 | 44.8 | 40.8 | 42.0 | 41.0 |
Ab | – | – | 1.4 | – | – | – | – | – | – |
Ne | 18.9 | 22.2 | 29.3 | 20.5 | 20.8 | 18.7 | 17.5 | 21.7 | 23.7 |
Di | 20.2 | 21.5 | 25.4 | 22.0 | 21.1 | 14.1 | 21.4 | 20.1 | 21.7 |
Fo | 7.8 | 0.8 | 2.5 | 0.5 | 6.6 | 10.6 | 3.4 | 5.0 | 4.8 |
Lrn | 3.2 | 4.9 | – | 5.5 | 5.8 | 7.5 | 3.8 | 6.1 | 5.6 |
Примечания. {} количество анализов для усреднения, () – среднеквадратичное отклонение; Ab – альбит, An – анортит, Lrn – ларнит, Wo – волластонит, образец p90-1, 2 – паргасит-диопсидовая, р90-3 – форстеритовая зона, описание в тексте; остальные сокращения см. табл.3; ↓,↑ – подход по температуре сверху, снизу.
Состав новообразованных стекол серии 2 представлен в табл. 6. В случае добавления нефелина в составе стекол появляется K2O до 1.71 ± 0.15 мас. % (приведено к Σ100 мас. %). Выше предполагаемых Холлоуэем параметров плавления паргасит сохраняется в стеклах, содержащих расчетный анортит (рис. 5б), в более кремнеземистых стеклах, с расчетным плагиоклазом, формируются реакционные каймы (рис. 5а).
Таблица 6. Химические составы стекол для некоторых опытов серии 2
Компонент | p101{3}-3↑ | p101{3}-1↑ | p100{3}↑ | p105{3}↑ | p108{6}↓ | р111{3}↓ |
SiO2 | 48.38(0.89) | 46.40(0.79) | 43.37(0.31) | 41.62(2.44) | 42.63(0.93) | 43.17(0.28) |
Al2O3 | 23.36(1.06) | 23.38(0.10) | 25.71(0.47) | 23.39(1.37) | 25.94(0.22) | 22.51(0.31) |
MgO | 4.03(0.10) | 4.33(1.74) | 3.21(0.31) | 3.88(1.23) | 6.05(0.78) | 6.36(0.74) |
CaO | 8.98(0.26) | 8.51(0.76) | 12.37(0.36) | 9.55(0.29) | 14.93(0.27) | 14.69(0.47) |
Na2O | 7.85(0.14) | 8.58(0.69) | 8.28(0.12) | 8.87(1.09) | 5.77(0.19) | 5.61(0.38) |
K2O | – | – | 1.21(0.11) | 1.49(0.10) | 0.17(0.16) | 0.79(0.22) |
total | 92.62 | 91.20 | 94.15 | 88.80 | 95.43 | 93.13 |
CIPW | ||||||
An | 30.3 | 25.7 | 29.4 | 22.1 | 46.5 | 36.4 |
Ab | 29.5 | 23.0 | – | – | – | – |
Or | – | – | – | 1.9 | – | – |
Ne | 23.3 | 32.4 | 38.0 | 45.8 | 27.7 | 27.6 |
Di | 13.8 | 15.8 | 17.3 | 23.5 | 15.5 | 25.9 |
Fo | 3.1 | 3.1 | – | – | 6.0 | 3.5 |
Wo | – | – | 3.5 | 0.5 | – | – |
Lct | – | – | 5.6 | 6.3 | 0.8 | 3.9 |
Lrn | – | – | 0.5 | – | 3.5 | 2.7 |
Примечания. {} количество анализов для усреднения, () – среднеквадратичное отклонение; Or – ортоклаз, Lct – лейцит, для образца p101: p101-3 – форстерит -диопсидовая, p101-1 – плагиоклаз-диопсидовая зона, описание в тексте; остальные сокращения см. табл.3, 5; ↓,↑ – подход по температуре сверху, снизу.
Дискуссия
Для многокомпонентных соединений инконгруэнтная кристаллизация и плавление, в зависимости от числа фаз, принимающих участие в перитектической реакции, может иметь вариантность, отличную от n = 0. Изучаемый паргасит является шестикомпонентным соединением Na2O–CaO–MgO–Al2O3–SiO2–H2O (NCMASН), что затрудняет анализ реакций, а также отображение в координатах Р(Т)-x. В связи с этим изученные в работе реакции анализируются с помощью диаграммы в интенсивных параметрах Р-Т. Наблюдавшиеся с амфиболом физико-химические процессы поделены на процессы скорость реакции которых, в соответствии с законом действующих масс, зависит от концентраций вступающих в реакцию веществ, и процессы, связанные с явлениями, не зависящими от концентрации, протекающие при достижении P, Т-параметров фазового перехода.
P, T-диаграмма магнезиального паргасита известна по работам Бойда (Boyd, 1959) и Холлоуэя (Holloway, 1973). Линия инконгруэнтного плавления проходит T = 1035–1053–1065°C РH2O = 2–5–10 кбар и описывалась Холлоуэем реакцией (Holloway, 1973):
Prg = Fo + Di + Sp + L (Ne + An) + H2O. (1)
В работе подтверждены параметры стабильности паргасита. Дополнением к данным Холлоуэя является определение состава щелочного алюмосиликатного расплава равновесного с паргаситом. Появление силикатных расплавов в субликвидусной области при изучении систем H2O-силикат отмечалось и ранее (Holloway, 1973; Smulovich et al., 2001; Маnning et al., 2010; Ходоревская, Аранович, 2016).
Расплавы в равновесии с Fe-содержащим паргаситом исследованы при Т = 900°С, РH2O = 5 кбар и XH2O = 1 (Ходоревская, Аранович, 2016). Ходоревская и Аранович (2016) обнаружили два расплава, отличавшихся по химическому составу и размерам выделений. Ими описаны крупные сферулы расплава 50–100 мкм с содержанием SiO2 = 57.99 ± 0.43 мас. % (Σ90.68 мас. %) и небольшие сферулы до 10 мкм SiO2 = 73.3 ± 1.0 мас. % (Σ89.36 мас. %). Крупные сферулы расплава связывались Ходоревской и Арановичем (2016) с частичным инконгруэнтным плавлением паргасита, более мелкие cферулы c частичным растворением паргасита во флюиде. Как можно видеть, расплав, возникающий при осаждении силикатного вещества из флюидной фазы по данным Ходоревской и Арановича (2016), гораздо более кремнекислотный, по сравнению с обнаруженным в настоящей работе. Для обнаруженных расплавов из наших экспериментов с подходом по температуре снизу, с учетом небольшого количества заложенной в опыт воды, представляется маловероятным закалочное осаждение растворенного вещества из флюидной фазы. Эти расплавы ближе по кремнекислотности к расплавам, которые Ходоревская и Аранович (2016) относили к продуктам частичного инконгруэнтного плавления амфибола. Вероятнее всего появление расплавов в наших опытах с подходом снизу и расплавы, описанные Ходоревской и Арановичем (2016), связаны с эффектом снижения температуры плавления для частиц размером от микрона и менее (Нагаев, 1992; Buffat, Borel, 1976). Использованный в наших экспериментах паргасит имел небольшое количество игольчатых кристаллов толщиной 1 и менее микрон. После опыта иголки паргасита исчезали.
По полученным в работе данным смена паргаситового на оливиновый парагенезис при РH2O = 2–5 кбар выше 1035°С связана с реакцией паргасита с расплавом, а не с дегидратацией или процессом фазового перехода – плавлением. Об этом свидетельствует присутствие расплава в равновесии с паргаситом, сохранение состава амфибола после нагревания и устойчивость паргасита в равновесии с щелочным расплавом, образованным по нефелину при Р, Т-параметрах выше предполагаемого Холлоуэем (1973) инконгруэнтного плавления.
На отсутствие дегидратации указывают данные КР-спектроскопии (рис. 2б). Гидроксильные группы в паргасите сохранились после 4 и 11 часов нагревания до 1070°C (р36, р55) и 4 часов до 1087°С (р37) при РH2O = 2 кбар. Признаки отсутствия плавления будут рассмотрены в следующем разделе.
Подтверждением реакционных отношений, а не фазового перехода является концентрационная зависимость скорости реакции от количества и состава расплава. Зависимость от количества расплава наблюдалась в опытах серии 1 (р36, р37, р66, р67). При 5 об. % расплава паргасит сохранялся 4 часа при перегреве относительно предпола-гаемого Холлоуэем (1973) плавления на 40–52°C (1070–1087°С). При 30 об.% стекла паргаситовый парагенезис сменялся оливиновым менее, чем за 30 мин при перегреве на 25°C (1060°C). Механизм реакции паргасита в условиях малой объемной доли расплава при температурах выше 1050°С при 2 кбар с подходом по температуре снизу неясен. Предположительно реакция протекает в несколько стадий, и одна из них лимитирует скорость реакции. В работе наблюдались три из них – частичное инконгруэнтное плавление амфибола, частичное растворение расплава и других фаз во флюиде и переход от паргаситового к форстеритовому парагенезису. Для процессов при РH2O = 5 кбар, скорее всего, лимитирующей стадии либо нет, либо последовательность реакций отличается из-за более высокой растворимости фаз во флюиде и диопсида в щелочном расплаве.
Концентрационная зависимость скорости реакции от кремнекислотности расплава была обнаружена в опытах серии 2 (р105, p107). В условиях перегрева относительно предполагаемого Холлоуэем (1973) температуры плавления на 25°C (1060°С) идиоморфные кристаллы паргасита сохранялись в новообразованном модельном уртитовом расплаве 24 часа. В расплаве большей кремнекислотности за 24 часа паргасит сохранялся в виде единичных округлых включений в диопсиде.
По полученным в работе данным, линия инконгруэнтного плавления паргасита, найденная Холлоуэем (1973) является перитектической реакцией или ликвидусом амфибола. Без учета коэффициентов реакцию паргасита и расплава можно записать:
Prg + L= Fo + Sp + Di + {Ne + Pl}L + H2O. (2)
Уменьшение температуры ликвидуса паргасита в присутствии кварца или пироксена продемонстрировано в работах Шармы (Sharma, 1996) и Ликинса и Дженкинса (Lykins, Jenkins, 1992) (рис. 1). Хорошо известно о снижении температуры ликвидуса амфиболов в зависимости от кремнекислотности расплава от щелочных и оливиновых базальтов к средним и кислым расплавам (Кадик и др., 1986; Merril, Wyllie, 1975; Wyllie, Tuttle, 1961).
Полученные в работе данные позволяют предположить, что компонентом расплава, контролирующим стабильность паргасита, является кремнезем. Реакция амфибола с участием кварца хорошо известна (Boyd, 1959; Yoder, Tilley, 1962; Green, Ringwood, 1967; Sharma, 1996). О возможном взаимодействии амфибола с кремнеземом расплава, как о реакции, контролирующей стабильность амфибола, писали ранее (Allen, Boettcher, 1975; Eggler, 1972; Spear, 1981). Эгглер (1972) предлагал реакцию (в ф. е.):
Amph + 2.6QzL = 0.1KfsL + 1.4Pl50L + 2.65Opx +
+ Cpx + 0.33Ilm + 0.21Mag + H2O, (3)
где Amph – амфибол; Cpx – клинопироксен; Kfs – калиевый полевой шпат; Ilm – ильменит; Mag – магнетит; Opx – ортопироксен; Qz – кварц; L – компонент расплава; остальные минералы см. табл. 3.
Активность кремнезема в работе Эгглера (1972) принималась равной единице, что приводило к неверной трактовке протекания реакции. По данным работы Гиорсо, Карлмайкла (Гиорсо, Кармайкл, 1992) логарифм активности кремнезема для разных расплавов при ~1000°C составляет – для угандита lgaSiO2 ~ –0.53, базальта ~ –0.45, андезита ~ –0.3.
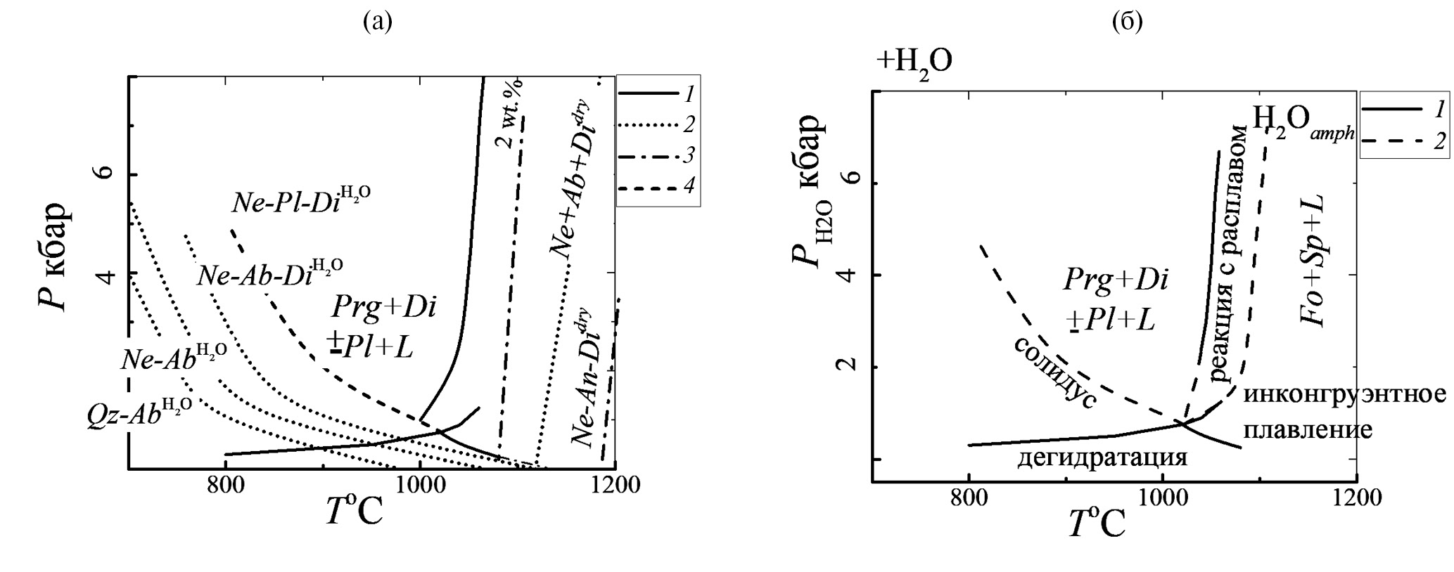
На основании полученных данных можно предположить реакцию, определяющую стабильность паргасита в расплавах различной кремнекислотности при давлении PH2O ≥ 1–1.5 кбар (рис. 6, 7):
Prg + {0.5–2.5}SiO2L = {1.5–1}Fo + {1–1.5}Di +
+ {0.5–1.5}PlAn100–33L + {1–0}NeL + {0.5–0}Sp + H2O. (4)
Рис. 6. а) Фазовая диаграмма паргасита. Литературные данные: 1 – дегидратация и инконгруэнтное плавление паргасита (Boyd, 1959; Holloway, 1973); 2 –водонасыщенные эвтектики Ab–Qz (Holtz et al., 1992); Ne–Ab, Ne–Ab–Di и сухое плавление Ne–Ab–Di (Schairer, Yoder,1960; Pati et al., 2000); 3 – предполагаемое плавление Ne–An–Di системы: сухое и изоплета 2 мас. % Н2О; 4 – предполагаемое водонасыщенное плавление Ne–Pl–Di; б) Фазовая диаграмма паргасита с учетом полученных нами данных. 1 – данные Бойда (1959) и Холлоуэя (1973); 2 – наши данные; L – расплав, H2Oamph – плавление по изоплете содержания воды в амфиболе (~2 мас. %); обозначения минералов см. табл. 3.
Рис. 7. Схематическая Р, Т-диаграмма Na2O-CaO-MgO-Al2O3-SiO2-H2O (NCMASН) системы по экспериментальным данным; () – фаза отсутствует. Обозначения минералов см. табл. 3.
В соответствии с балансом масс рассчитаны возможные варианты коэффициентов реакции (табл. 7). Разное количество кремнезема в предлагаемой реакции отражает содержание SiO2 = 40–70 мас. % в вулканических расплавах. Для основных пород коэффициент для кремнезема, вступающего в реакцию, будет минимален ~ 0.5 и менее. В гранитных составах коэффициент может вырасти до 2.5 и выше. Для кислых расплавов можно ожидать появление ортопироксена в каймах взаимодействия.
Таблица 7. Коэффициенты возможных реакций с участием паргасита и кремнезема
Исходные реагенты | = | Продукты реакции | |||||||
Prg | SiO2 | Di | Fo | Ab | An | Ne | Sp | En | |
1 | 0 | 2 | – | – | – | 1 | 1 | 1 | |
1 | 0 | 1.5 | 1 | – | 0.5 | 1 | 0.5 | – | |
1 | 0.5 | 1.5 | 1 | 0.25 | 0.5 | 0.75 | 0.5 | – | |
1 | 1 | 1.5 | 1 | 0.5 | 0.5 | 0.5 | 0.5 | – | |
1 | 2 | 1.5 | 1 | 1 | 0.5 | – | 0.5 | – | |
1 | 3 | 1.5 | – | 1 | 0.5 | – | 0.5 | 2 | |
Примечания. En – энстатит; обозначения минералов см. в примечаниях к табл. 3 и 5.
По полученным в работе данным (р100, р105, р108 и р111, р112) реакция паргасита с расплавом не всегда контролирует его ликвидус. Возможно, что это связано с кинетикой или конкуренцией двух реакций c кремнеземом. Первая – Opx = Fo + SiO2L и вторая – Рrg + SiO2L = Fo + Di + Sp + {Pl + Ne}L + H2O. Повышенная активность кремнезема сужает по температуре поля как амфибола, так и оливина. Низкая активность, наоборот, приводит к расширению, вплоть до перекрытия обоих полей. Возможно, что это явление может быть причиной резкого роста объемной доли амфибола, при достижении параметров Fo-out, в расплавах с низкой активностью кремнезема.
Инконгруэнтное плавление
Инконгруэнтное плавление амфибола является фазовым переходам 1 рода. Эндотермическое плавление протекает при постоянных Р, Т-параметрах с увеличением количества расплава, вплоть до полного его исчезновения. Такое явление при PH2O = 2 кбар на интервале 1050–1087°С отсутствует. Рост доли расплава на равных 4-часовых интервалах в опытах не наблюдался. Можно предположить метастабильное существование амфибола в перегретом состоянии. Это возможно в отсутствии зародышей стабильных фаз, но в присутствии расплава, оливина и диопсида (табл. 3) маловероятно.
Резкое увеличение доли расплава наблюдалось на интервале 1087–1100°С и PH2O = 2 кбар. При 1100°С доля расплава увеличивается с 5 до 60 об. % и паргаситовый парагенезис меняется на форстеритовый за 2.5–4 мин (р27, p38).
Скорость реакции, описывается уравнением Аррениуса:
(5)
где К – константа скорости реакции, равна скорости реакции при единичных концентрациях реагирующих веществ; K0 – предэкспоненциальный множитель, численно равен константе скорости реакции при температуре, стремящейся к бесконечности; Еа – энергия активации; R – постоянная Больцмана, Т – температура.
Для реакции, протекающей по единому механизму, согласно уравнению (5) константа скорости на интервале 1050–1100°С должна иметь линейную зависимость в координатах lnK – 1/T. При допущении, что реакция протекла полностью, для кристаллов одного размера оценено отношение констант скорости для опытов при 1070 и 1100°С. Используя соотношение скорости и константы скорости для реакции, будет верно равенство:
, (6)
где К1, K2 – константы скоростей реакции при T1 = 1070°С, T2 = 1100°С и t1= 11 ч, t2 = 2.5 мин.
Полученная минимальная кратность констант скоростей исчезновение паргасита на 30°С составляет ~2–3 порядка. Резкое изменение констант скорости свидетельствует об изменении энергии активации процесса. Наблюдаемый скачок, вероятнее всего, свидетельствует о смене реакций и отражает процесс разрушения кристаллической решетки амфибола.
Мы полагаем, что при 1100°С и РH2O = 2 кбар происходит инконгруэнтное плавление паргасита. Предположительно, при 1087 < Т ≤ 1100°C и РH2O = 2 кбар достигается эвтектика диопсид-нефелин-анортитового состава:
Prg = Fo + 0.5Sp + {1.5Di + Ne + 0.5An}L + H2O. (7)
На рисунок 6а нанесена линия сухой эвтектики Ne–An–Di. Параметры плавления рассчитаны с помощью программы MELTs Rhyolite 1.0.2 (Ghiorso, Sack,1994). Линия наблюдаемого в работе плавления проведена по 1 точке при РH2O = 2 кбар и 1087 < T < 1100°С, субпараллельно сухому плавлению. Линия нанесена условно и нуждается в уточнении (рис. 6а, 6б).
Полученные в работе параметры 1100°C и РH2O = 2 кбар быстрого исчезновения паргасита меньше, чем расчетная сухая эвтектика Ne–An–Di и меньше, чем параметры тройной эвтектики другого крайнего минала плагиоклаза – альбита. Предположительно, наблюдаемое плавление паргасита связано с плавлением продуктов возможного разложения амфибола по изоплете воды, отвечающей содержанию воды в амфиболе, и является дегидратационным плавлением (Thompson, 1982).
Реакции природного амфибола
Предлагаемая модель паргасита, с тремя реакциями (рис. 6б), контролирующими его стабильность, описывает кальциевые магнезиальные амфиболы с заполненной катионной позицией А и тетраэдрическим Al. В природных амфиболах имеет место широкий спектр изоморфизма. Для роговой обманки характерен гетеровалентный изоморфизм с появлением вакансий в позиции А. По нашему мнению, для магматических амфиболов с ∑(Na + K)A, M4 ≥ 0.5 три реакции будут иметь место. Об этом свидетельствуют данные по росту температур ликвидуса с 920 до 990°С близких по составу роговых обманок в близких по магнезиальности андезитовом и базальтовом расплавах (при РH2O = 2 кбар и fO2 = NNO) (Krawczynski et al., 2012; Grove et al., 2003), формирование дегидратационных кайм при декомпрессии в природных амфиболах (Brown, Gardner, 2006; Rutherford, Devine, 2003; Rutherford, Hill, 1993) и находка щелочного расплава в продуктах разложения титанистого магнезиогастингсита в гавайитах Камчатки (Колосков и др., 2014).
В зависимости от состава расплава и физико-химических условий положение линий реакций для магматических амфиболов могут значительно варьировать. Известно, что факторами, способствующими повышению температуры ликвидуса амфибола, являются: пониженная кремнекислотность расплава, повышенная щелочность, недосыщенность по воде и др. (Кадик и др., 1986; Wyllie, Tuttle, 1961; Eggler, 1972; Merril, Wyllie, 1975 и др.).
На параметры дегидратации значительное влияние оказывает флюидный режим (Holloway, 1973), а для железосодержащих амфиболов фугитивность кислорода (Gilbert et al., 1982). Появление окси-компоненты в амфиболе, видимо, будет расширять Р, T-поле амфибола. О чем свидетельствуют окси-керсутиты кристаллизовавшиеся из расплава, содержащего 100–1000 ppm воды (Mysen et al., 1998).
По полученным в работе данным собственное плавление амфибола происходит за счет образования низкотемпературных расплавов из возможных продуктов распада, минуя дегидратацию. Предположительно, это происходит при достижении изоплеты плавления эвтектических составов и возможным наличием микропримесей. В тремолит-паргаситовых амфиболах наблюдали цепочки кремнекислородных тетраэдров с кратностями 1, 3, 4, 5 и 6 (Jenkins et al., 2003). Наличие дефектов может способствовать плавлению микроминеральных включений при достижении соответствующих P, T-параметров.
Если предположение, представленное в работе, верно, то на инконгруэнтное плавление оказывают влияния те же факторы, что и на дегидратацию. Железосодержащие амфиболы будут давать более низкотемпературные расплавы. Высокотемпературные расплавы можно ожидать для магнезиальных разновидностей или амфиболов с неполностью заполненной гидроксильной позицией. При гетеровалентном изоморфизме в амфиболах NaA + 2AlIV + AlVI = []A + MgIV + 2SiVI, возможно появление кварца в продуктах дегидратации и формирование эвтектического Qz–Ab расплава (рис. 6а). В предельном случае можно ожидать исчезновения реакции с кремнеземом расплава, но такие амфиболы нехарактерны для вулканических пород.
По нашему мнению, параметры инконгруэнтного плавления амфибола можно приблизительно оценить. Для этого необходимо составить уравнение дегидратации и определить наиболее легкоплавкий состав. Для низких давлений плавление предположительно протекает при достижении водонасыщенной эвтектики легкоплавкого состава продуктов дегидратации. Начиная с достижения параметров равенства содержания воды в амфиболе и растворимости воды в эвтектическом расплаве, плавление будет протекать в недосыщенных по воде условиях, вне зависимости от общего содержания воды в системе.
Существование трех реакций, ограничивающих стабильность магматических амфиболов – дегидратации, инконгруэнтного плавления и реакции с расплавом, имеют важное петрологическое значение. Опираясь на реакцию с кремнеземом расплава, можно объяснить увеличение температуры ликвидуса амфиболов от кислых к основным расплавам, стабильность амфиболов в щелочных породах при более высоких температурах, чем в породах нормальной щелочности, более высокотемпературный характер калиевых разновидностей амфибола и др.
Анализ системы Na2O–CaO–MgO–Al2O3–SiO2–H2O
Системой Na2O–CaO–MgO–Al2O3–SiO2–H2O (NCMASН) можно описать широкий спектр пород. В представленной работе шестикомпонентная система используется для описания модельных основных и средних щелочных вулканитов. Описание системы ограничено фазами, распространенными в этих породах: амфиболом (паргаситом), оливином, диопсидом, плагиоклазом, нефелином, шпинелью, расплавом.
В работе рассматривается водонасыщенная система. Вода присутствует во всех парагенезисах в виде обособленной фазы. В этом случае она может быть отнесена к индифферентным вполне подвижным компонентам (Жариков, 1976) и размерность системы понижена до k = 5. Согласно правилу фаз Гиббса n = K + 2 – r рассматриваемая пятикомпонентная система для семи фаз r = 7 имеет n = 0 и относится к системам с одной нонвариантной точкой.
Стабильная нонвариантная точка лежит на пересечении стабильных лучей моновариантных реакций – дегидратации паргасита и водонасыщенного плавления продуктов реакции дегидратации. Последние две изучены в работе Бойда (1959). На рис. 7 отмечены как безрасплавная (L) и беспаргаситовая (Prg) линии.
Без точного учета тангенсов наклона реакций дополнительно нанесено еще две линии. Первая – появление водонасыщенного расплава в равновесии с паргаситом. На рисунке 7 обозначена как бесфорстеритовая линия (Fo). Вторая – водонасыщенный ликвидус паргасита. Обозначена как безнефелиновая линия (Ne).
Бесфорстеритовая (Fo) отвечает возможному появлению Ne–Pl–Di водонасыщенных расплавов. Линия экстраполирована из данных эвтектики для крайнего минала плагиоклаза – альбита и нанесена параллельно появлению Ne–Ab–Di расплавов, со смещением в высокотемпературную область (рис. 6, 7). Существование щелочного расплава в равновесии с паргаситом подтверждено экспериментально.
Безнефелиновая линия (Ne) определяется реакцией Prg + SiO2L = Fo + Di + L. Линия нанесена по данным Холлоуэя (1973) и нашим. Инконгруэнтное плавление выше PH2O > 1.2 не отражено на диаграмме. Предположительно, процесс протекает в недосыщенных по воде условиях.
Диаграмма для системы CaO–MgO–Al2O3–SiO2–H2O (CMASН) представлена в работе Эллиса и Томпсона (Ellis, Тhompson, 1985). Топологии P, T-диаграммы для этой водонасыщенной системы и представленной нами выше системы NCMASН схожи. Смена амфиболового парагенезиса на пироксеновый при РH2O > 2 кбар по интерпретации Эллиса и Томпсона (1985) происходит по реакции: Amph + Qz = Cpx + Opx + L.
Геологическое приложение
Интерес к опацитизированному амфиболу связан с его способностью отражать физико-химические изменения, происходившие в вулканическом очаге. Опацитизация в магматическом процессе, протекает в открытой химической системе. Поэтому процессы дегидратации, инконгруэнтного плавления или реакции амфибола с расплавом необратимы. В случае дегидратации это происходит за счет ухода из системы одной из фаз реакции – воды. В случае реакции с расплавом – из-за роста устойчивых по отношению к интерстициальному расплаву фаз или изменения состава продуктов реакции (De Angelis et al., 2015).
Опацитизация амфиболов рассматривается как следствие изменения интенсивных параметров – T°С (Rutherford, Devine, 2003), РH2O (Kuno, 1950; Garcia, Jacobson, 1979)0, fo2 (Garcia, Jacobson, 1979). Предложен реакционный способ образования кайм за счет взаимодействия с расплавом (Rutherford, Hill, 1993) и биметасоматическая модель – за счет обмена компонентов расплава и амфибола (Плечов и др., 2008). Выделяют каймы “клинопироксенового” и габброидного типа, опацита по (Rutherford, Devine, 2003), типа 2,3 по (Murphy et al., 2000).
Безусловно, все выделенные типы оторочек имеют место в природе. Опираясь на полученные фазовые отношения, возможно систематизировать типы кайм. По предлагаемой в работе модели опацитизация сводится к двум процессам: разложению или взаимодействию амфибола с расплавом. По полученным данным инконгруэнтное плавление амфибола происходит по объему амфибола. Сохранение псевдоморфозы по амфиболу, претерпевшего плавление, из минеральных фаз и расплава на наш взгляд маловероятно, и возможно только в высокотемпературных щелочных эффузивах (Колосков и др., 2014). Основным критерием для выделения типа каймы является его изохимический или неизохимический по отношению к амфиболу состав. При декомпрессии, в случае пересечения солидуса и дегидратации, по амфиболу могут образовываться каймы смешанного типа.
Выводы
- Устойчивость паргасита определяется тремя реакциями: инконгруэнтным плавлением, реакцией с кремнеземом расплава и дегидратацией.
- Инконгруэнтное плавление паргасита связано с плавлением продуктов возможного разложения амфибола по изоплете воды, отвечающей содержанию воды в амфиболе, минуя фазу дегидратации.
- Влияние активности кремнезема на ликвидус магматических амфиболов позволяет объяснить и предсказать некоторые особенности их кристаллизации. Все факторы, способствующие уменьшению активности кремнезема в расплаве, будут приводить к повышению температуры ликвидуса амфибола. Верно и обратное утверждение.
Авторы признательны д. г. м.н. А. Г. Симакину за обсуждение материалов статьи, Т. Н. Докиной, Н. А. Дрожжиной за проведение рентгеновского исследования образцов, д. г. м.н. А. В. Гирнису, д. г. м.н. А. Р. Котельникову, д. г. м.н. П. Ю. Плечову за справедливую критику и полезные рекомендации, позволившие значительно улучшить подачу материала, рецензентам ак. д. г.м.н. Л. Я. Арановичу, двум неизвестным рецензентам и научному редактору д. г. м.н. О. А. Луканину за полезные советы и конструктивные замечания, способствовавшие улучшению рукописи.
Авторлар туралы
V. Devyatova
D.S. Korzhinskii Institute of Experimental Mineralogy of Russian Academy of Sciences
Хат алмасуға жауапты Автор.
Email: deviatova@iem.ac.ru
Ресей, 142432, Moskovskaya oblast', Chernogolovka, Akademika Osipyana str., 4
A. Nekrasov
D.S. Korzhinskii Institute of Experimental Mineralogy of Russian Academy of Sciences
Email: deviatova@iem.ac.ru
Ресей, 142432, Moskovskaya oblast', Chernogolovka, Akademika Osipyana str., 4
G. Bondarenko
D.S. Korzhinskii Institute of Experimental Mineralogy of Russian Academy of Sciences
Email: deviatova@iem.ac.ru
Ресей, 142432, Moskovskaya oblast', Chernogolovka, Akademika Osipyana str., 4
Әдебиет тізімі
- Гиорсо М. С., Кармайкл И. С.Е. (1992) Моделирование магматических систем: петрологическое приложение. Термодинамическое моделирование в геологии (минералы, флюиды, расплавы) Ред.: Кармайкл И., Ойгстер Х. М.: Мир. 487–518.
- Жариков В. А. (1976) Основы физико-химической петрологии. М.: Изд-во МГУ, 420 с.
- Кадик А. А., Максимов А. П., Иванов Б. В. (1986) Физико-химические условия кристаллизации и генезис андезитов (на примере Ключевской группы вулканов). М.: Наука, 158 с.
- Колосков А. В., Ананьев В. В., Пузанков М. Ю. (2014) Амфибол в четвертичных гавайитах Кекукнайского вулканического массива (Камчатка) как показатель декомпрессионной эволюции расплавов повышенной щелочности. Записки ВМО. (2), 94–115.
- Нагаев Э. Л. (1992) Малые металлические частицы. Успехи физических наук. 162(9), 49–124.
- Плечов П. Ю., Цай А. Е., Щербаков В. Д., Дирксен О. В. (2008) Роговые обманки в андезитах извержения 30 марта 1956 г. вулкана Безымянный и условия их опацитизации. Петрология. 16(1), 21–37.
- Путилин Ю. М., Белякова Ю. А., Голенко В. П. (1987) Синтез минералов (асбест, слюда, гранат). М.: Недра. 256 с.
- Ходоревская Л. И., Аранович Л. Я. (2016) Экспериментальное исследование взаимодействия амфибола с флюидом H2O–NaCl при 900оС, 500 МПа: к процессам плавления и массопереноса в гранулитовой фации. Петрология. 24(3), 235–254.
- Allen J. C., Boettcher A. L., Marland G. (1975) Amphiboles in andesite and basalt: I. Stability as a function of P-T-fO2. Am. Mineral.: J. Earth Planetary Materials. 60 (11–12), 1069–1085.
- Boyd F. R. (1959) Hydrothermal investigations of amphiboles. Researches in geochem. 1, 377–396.
- Browne, B. L., Gardner, J. E. (2006). The influence of magma ascent path on the texture, mineralogy, and formation of hornblende reaction rims. Earth Planet. Sci. Lett. 246(3–4), 161–176.
- Buckley V. J. E., Sparks R. S. J., Wood, B. J. (2006) Hornblende dehydration reactions during magma ascent at Soufrière Hills Volcano, Montserrat. Contrib. Mineral. Petrol. 151(2), 121–140.
- Buffat P., Borel J. P. (1976) Size effect on the melting temperature of gold particles. Phys. Rev. A. 13(6), 2287–2298.
- Barboni, M., Bussy, F. (2013). Petrogenesis of magmatic albite granites associated to cogenetic A-type granites: Na-rich residual melt extraction from a partially crystallized A-type granite mush. Lithos. 177, 328–351.
- Cannon J. F. (1974). Behavior of the elements at high pressures. J. Phys. Chem. Ref. Data. 3(3), 781–824.
- De Angelis S. H., Larsen J., Coombs M., Dunn A., Hayden L. (2015) Amphibole reaction rims as a record of pre-eruptive magmatic heating: an experimental approach. Earth Plan. Sci. Lett. 426, 235–245.
- Della Ventura G., Hawthorne F. C., Robert J.-L., Delbove F., Welch M. F., Raudsepp M. (1999) Short-range order of cations in synthetic amphiboles along the richterite-pargasite join. Eur. J. Mineral. 11, 79–94.
- Ellis D. J., Thompson A. B. (1986) Subsolidus and partial melting reactions in the quartz-excess CaO + MgO + Al2O3 + SiO2 + H2O system under water-excess and water-deficient conditions to 10 kb: some implications for the origin of peraluminous melts from mafic rocks. J. Petrol. 27(1) 91–121.
- Eggler D. H. (1972) Amphibole stability in H2O-undersaturated calc-alkaline melts. Earth Plan. Sci. Lett. 15(1), 28–34.
- Frost D. J. (2006) The stability of hydrous mantle phases. Rev. Mineral. Geochem. 62(1), 243–271.
- Garcia M. O., Jacobson S. S. (1979) Crystal clots, amphibole fractionation and the evolution of calc-alkaline magmas. Contrib. Mineral. Petrol. 69(4), 319–327.
- Gilbert, M. C. (1966) Synthesis and stability relations of the hornblende ferropargasite. Am. J. Sci. 264(9), 698–742.
- Gilbert M. C., Helz R. T., Popp R. K., Spear F. S. (1982) Experimental studies of amphibole stability. Rev. Mineral. 9B. 229–353.
- Ghiorso, M. S., Sack, R. O. (1995). Chemical mass transfer in magmatic processes IV. A revised and internally consistent thermodynamic model for the interpolation and extrapolation of liquid-solid equilibria in magmatic systems at elevated temperatures and pressures. Contrib. Mineral. Petrol. 119, 197–212.
- Green D. H., Ringwood A. E. (1967) The genesis of basaltic magmas. Contrib. Mineral. Petrol. 15, 103–190.
- Grove T. L., Elkins-Tanton L. T., Parman S. W., Chatterjee N., Müntener O., Gaetani G. A. (2003) Fractional crystallization and mantle-melting controls on calc-alkaline differentiation trends. Contrib. Mineral. Petrol. 145(5), 515–533.
- Gupta A. K., Chattopadhyay S., Chattopadhyay B., Arima M. (2006) Experimental study of the system diopside-nepheline-sanidine at 0.1, 1 and 2 GPa [P (H2O) = P (Total)]: Its significance in the genesis of alkali-rich basic and ultrabasic rocks. Lithos. 86(1–2), 91–109.
- Jenkins D. M., Bozhilov K. N., Ishida K. (2003) Infrared and TEM characterization of amphiboles synthesized near the tremolite-pargasite join in the ternary system tremolite-pargasite-cummingtonite. Am. Mineral. 88(7), 1104–1114.
- Johannes W. (1978) Melting of plagioclase in the system Ab–An–H2O and Qz–Ab–An–H2O at PH20 = 5 kbars, an equilibrium problem. Contrib. Mineral. Petrol. 66 (3), 295–303.
- Johannes W., Holtz F. (1996) Petrogenesis and Experimental Petrology of Granitic Rocks. Minerals and Rocks Series. Berlin: Springer-Verlag. 22, xiii + 335 p.
- Holloway J. R. (1973) The system pargasite-H2O-CO2: a model for melting of a hydrous mineral with a mixed-volatile fluid I. Experimental results to 8 kbar. Geochim. Cosmochim. Acta. 37(3), 651–666.
- Holtz F., Pichavant M., Barbey P., Johannes W. (1992) Effects of H2O on liquidus phase relations in the haplogranite system at 2 and 5 kbar. Am. Mineral. 77(11–12), 1223–1241.
- Kimura, M., Mikouchi, T., Suzuki, A., Miyahara, M., Ohtani, E., Goresy, A. E. (2009) Kushiroite, CaAlAlSiO6: A new mineral of the pyroxene group from the ALH 85085 CH chondrite, and its genetic significance in refractory inclusions. Am. Mineral. 94(10), 1479–1482.
- Kozu S., Yoshiki B. (1927) Die Dissoziationstemperatur von brauner Horblende und ihre rashe Expansion bei dieser Temperatur. Sci. Rep. Tohoku Univ. Ser. 3(2), 7.
- Kuno H. (1950) Petrology of Hakone volcano and the adjacent areas, Japan. Geol. Society of Am. Bull. 61(9), 957–1020.
- Krawczynski M. J., Grove T. L., Behrens H. (2012) Amphibole stability in primitive arc magmas: effects of temperature, H2O content, and oxygen fugacity. Contrib. Mineral. Petrol. 164, 317–319.
- Lafuente B., Downs R. T., Yang H., Stone N. (2015) The power of databases: the RRUFF project. In: Highlights in Mineralogical Crystallography, Armbruster T., Danisi R. M., eds. Berlin, Germany, W. De Gruyter. 1–30.
- Leake B. E., Woolley, A. R., Arps, C. E., Birch, W. D., Gilbert, M. C., Grice, J. D., Youzhi, G. (1997) Nomenclature of amphiboles; report of the Subcommittee on Amphiboles of the International Mineralogical Association Commission on new minerals and mineral names. Mineral. Mag. 61(405), 295–310.
- Lykins R. W., Jenkins D. M. (1992) Experimental determination of pargasite stability relations in the presence of orthopyroxene. Contrib. Mineral. Petrol. 112(2), 405–413.
- Manning, C. E., Antignano, A., Lin, H. A. (2010). Premelting polymerization of crustal and mantle fluids, as indicated by the solubility of albite + paragonite + quartz in H2O at 1 GPa and 350–620oC. Earth Plan. Sci. Lett. 292(3–4), 325–336.
- Martin R. F. (2007) Amphiboles in the igneous environment. Reviews in Mineralogy and Geochemistry. 67(1), 323–358.
- Merrill R. B., Wyllie P. J. (1975) Kaersutite and kaersutite eclogite from Kakanui, New Zealand – water-excess and water-deficient melting to 30 kilobars. Geol. Soc. Am. Bull. 86(4), 555–570.
- Morimoto, N., Fabries, J., Ferguson, A. K., Ginzburg, I. V., Ross, M., Seifert, F. A., … & Gottardi, G. (1988) Nomenclature of pyroxenes. Miner. Mag. 52(367), 535–550.
- Murphy M. D., Sparks R. S. J., Barclay J., Carroll M. R., Brewer T. S. (2000) Remobilization of andesite magma by intrusion of mafic magma at the Soufriere Hills Volcano, Montserrat, West Indies. J. Petrol. 41(1), 21–42.
- Mysen B. O., Virgo D., Popp R. K., Bertka C. M. (1998) The role of H2O in Martian magmatic systems. Am. Miner. 83(9–10), 942–946.
- Pati J. K., Arima M., Gupta A. K. (2000) Experimental study of the system diopside–albite–nepheline at P (H2O) = P (Total) = 2 and 10 kbar and at P (Total) = 28 kbar. Can. Mineral. 38(5), 1177–1191.
- Rutherford M. J., Devine J. D. (2003) Magmatic conditions and magma ascent as indicated by hornblende phase equilibria and reactions in the 1995–2002 Soufriere Hills magma. J. Petrol. 44(8), 1433–1453.
- Rutherford M. J., Hill P. M. (1993) Magma ascent rates from amphibole breakdown: an experimental study applied to the 1980–1986 Mount St. Helens eruptions J. Geophys. Research: Solid Earth. 98(B11), 19667–19685.
- Shaw, C. S., Eyzaguirre, J. (2000). Origin of megacrysts in the mafic alkaline lavas of the West Eifel volcanic field, Germany. Lithos. 50(1–3), 75–95.
- Schairer J. F., Yoder H. S. (1960) The nature of residual liquids from crystallization, with data on the system nepheline-diopside-silica Am. J. Sci. A. 258, 273–283.
- Sharma A. (1996) Experimentally derived thermochemical data for pargasite and reinvestigation of its stability with quartz in the system Na2O–CaO–MgO–Al2O3–SiO2–H2O. Contrib. Mineral. Petrol. 125(2), 263–275.
- Shmulovich, K., Graham, C., & Yardley, B. (2001). Quartz, albite and diopside solubilities in H2O–NaCl and H2O–CO2 fluids at 0.5–0.9 GPa. Contrib. Mineral. Petrol. 141, 95–108.
- Spear F. S. (1981) An experimental study of hornblende stability and compositional variability in amphibolite. Am. J. Sci. 281(6), 697–734.
- Thompson A. B. (1982) Dehydration melting of pelitic rocks and the generation of H2O -undersaturated granitic liquids. Am. J. Sci. 282(10), 1567–1595.
- Wyllie P. J., Tuttle O. F. (1961) Experimental investigation of silicate systems containing two volatile components; Part 2, The effects of NH3 and HF, in addition to H2O on the melting temperatures of albite and granite Am. J. Sci. 259(2), 128–143.
- Yoder H. S., Tilley C. E. (1962) Origin of basalt magmas: an experimental study of natural and synthetic rock systems. J. Petrol. 3(3), 342–532.
Қосымша файлдар









