Повышение износостойкости среднеуглеродистой стали катодным электролитно-плазменным бороазотированием
- Авторы: Кусманов С.А.1, Тамбовский И.В.1, Мухачева Т.Л.1, Кораблева С.С.1, Кусманова И.А.1, Белов Р.Д.1
-
Учреждения:
- Костромской государственный университет
- Выпуск: Том 59, № 4 (2023)
- Страницы: 424-432
- Раздел: НОВЫЕ ВЕЩЕСТВА, МАТЕРИАЛЫ И ПОКРЫТИЯ
- URL: https://journal-vniispk.ru/0044-1856/article/view/139730
- DOI: https://doi.org/10.31857/S004418562370047X
- EDN: https://elibrary.ru/YRFXWL
- ID: 139730
Цитировать
Полный текст
Аннотация
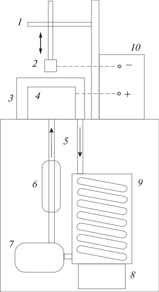
Изучена возможность повышения износостойкости среднеуглеродистой стали с помощью катодного электролитно-плазменного бороазотирования в водном электролите борной кислоты и хлорида аммония. Исследовано влияние процессов диффузии, высокотемпературного окисления и эрозии на морфологию и шероховатость поверхности, состав и структуру диффузионных слоев. Рассчитаны коэффициенты диффузии бора и азота. Установлено влияние диффузионных процессов в поверхностном слое стали на ее упрочнение при закалке, вызванное образованием азотистого мартенсита и боридов в зоне диффузии бора и азота на глубине до 100 мкм и увеличением концентрации углерода на глубине от 150 до 500 мкм за счет обезуглероживания поверхности. Установлен механизм изнашивания бороазотированной стали, соответствующий усталостному износу при граничном трении и пластическом контакте. Показана возможность повышения износостойкости в 3.5 раза и микротвердости диффузионного слоя до 1050 HV после катодного бороазотирования при 850°С в течение 30 мин.
Ключевые слова
Об авторах
С. А. Кусманов
Костромской государственный университет
Email: sakusmanov@yandex.ru
Россия, 156005, Кострома, ул. Дзержинского, 17
И. В. Тамбовский
Костромской государственный университет
Email: sakusmanov@yandex.ru
Россия, 156005, Кострома, ул. Дзержинского, 17
Т. Л. Мухачева
Костромской государственный университет
Email: sakusmanov@yandex.ru
Россия, 156005, Кострома, ул. Дзержинского, 17
С. С. Кораблева
Костромской государственный университет
Email: sakusmanov@yandex.ru
Россия, 156005, Кострома, ул. Дзержинского, 17
И. А. Кусманова
Костромской государственный университет
Email: sakusmanov@yandex.ru
Россия, 156005, Кострома, ул. Дзержинского, 17
Р. Д. Белов
Костромской государственный университет
Автор, ответственный за переписку.
Email: sakusmanov@yandex.ru
Россия, 156005, Кострома, ул. Дзержинского, 17
Список литературы
- Yerokhin A.L., Nie X., Leyland A. et al. // Surface and Coatings Technology. 1999. V. 122. P. 73.
- Aliofkhazraei M., Macdonald D.D., Matykina E. et al. // Applied Surface Science Advances. 2021. V. 5. P. 100121.
- Jin S., Ma X., Wu R. et al. // Applied Surface Science Advances. 2022. V. 8. P. 100219.
- Bogdashkina N.L., Gerasimov M.V., Zalavutdinov R.K. et al. // Surface Engineering and Applied Electrochemistry. 2018. V. 54. P. 331.
- Belkin P.N., Kusmanov S.A., Parfenov E.V. // Applied Surface Science Advances. 2020. V. 1. P. 100016.
- Belkin P.N., Yerokhin A.L., Kusmanov S.A. // Surface and Coatings Technology. 2016. V. 307. P. 1194.
- Nie X., Wang L., Yao Z.C. et al. // Surface and Coatings Technology. 2005. V. 200. P. 1745.
- Смирнов А.А., Силкин С.А., Белкин П.Н. и др. // Известия высших учебных заведений. Серия: Химия и химическая технология. 2017. Т. 60. Вып. 1. С. 81.
- Taheri P., Dehghanian Ch., Aliofkhazraei M. et al. // Plasma Processes and Polymers. 2007. V. 4. P. 711.
- Kuzenkov S.E., Saushkin B.P. // Surface Engineering and Applied Electrochemistry. 1996. V. 6. P. 10.
- Kusmanov S.A., Tambovskiy I.V., Sevostyanova V.S. // Surface and Coatings Technology. 2016. V. 291. P. 334.
- Kusmanov S.A., Tambovskii I.V., Korableva S.S. // Surface Engineering and Applied Electrochemistry. 2022. V. 58. P. 323.
Дополнительные файлы










