Разделение водонефтяной эмульсии полиамидными мембранами, обработанными плазмой коронного разряда
- Авторы: Дряхлов В.О.1, Шайхиев И.Г.1, Фазуллин Д.Д.2, Низамеев И.Р.3, Галиханов М.Ф.4, Мухамадиев И.Ф.1
-
Учреждения:
- Казанский национальный исследовательский технологический университет
- Казанский (Поволжский) федеральный университет
- Казанский национальный исследовательский технический университет им. А.Н. Туполева
- Институт прикладных исследований Академии наук Республики Татарстан
- Выпуск: Том 14, № 1 (2024)
- Страницы: 46-52
- Раздел: Статьи
- URL: https://journal-vniispk.ru/2218-1172/article/view/260768
- DOI: https://doi.org/10.31857/S2218117224010058
- EDN: https://elibrary.ru/OKBCJC
- ID: 260768
Цитировать
Полный текст
Аннотация
Проведены исследования по разделению водонефтяной эмульсии полиамидными мембранами с размером пор 0.2 мкм, обработанными плазмой коронного разряда при напряжении 5–25 кВ и времени 1–5 мин. Выявлено увеличение производительности и эффективности разделения водонефтяной эмульсии коронообработанными полиамидными мембранами. Показано увеличение шероховатости и изменение химической структуры модифицированных мембран.
Ключевые слова
Полный текст
ВВЕДЕНИЕ
Загрязнение гидросферы нефтью и нефтепродуктами является одной из приоритетных проблем в современном мире. Пленки углеводородов на водной поверхности способствуют изменению гидрохимического баланса с атмосферой, снижая поступление кислорода воздуха в толщу воды и препятствуя эмиссии углекислого газа в воздушную среду, что весьма негативно сказывается на жизнедеятельности водных гидробионтов [1].
Кроме техногенных аварий, одним из источников попадания нефти в водные объекты являются неочищенные или недостаточно очищенные сточные воды предприятий нефтепереработки и нефтехимии. В настоящее время существуют различные методы удаления и утилизации углеводородов нефти из сточных вод, такие как отстаивание [2], каталитическое окисление [3, 4], экстракция [5], адсорбция [6, 7], биологические методы [8, 9] и другие.
В водной среде нефть и продукты ее переработки могут находиться в трех видах: в виде пленки углеводородов на водной поверхности, в виде эмульсии и в растворенном виде. В сточных водах предприятий нефтепереработки нефть, как правило, находится в виде эмульсии, что существенно затрудняет очистку стоков из-за стойкости последних. Одним из методов разделения водонефтяных эмульсий на углеводородную и водную фазы является мембранная технология [10].
При многих положительных аспектах использования мембранного разделения для извлечения эмульсий углеводородов из водных сред, таких как компактность установок, отсутствие применения химических реагентов, высокая селективность и т.д., существуют и негативные аспекты метода. В частности, замасливание мембранных фильтров. Для решения этой проблемы применяют 2 группы методов: при блокировке пор мембраны углеводородами осуществляют очистку и регенерацию мембран обработкой различными реагентами или же применяют комплекс мер для гидрофилизации поверхности мембран для повышения селективности к воде [11–12].
Нами в ранее проведенных работах показано, что весьма эффективным способом гидрофилизации поверхности мембран является обработка поверхности последних плазмой коронного разряда или же в атмосфере газов при низкотемпературном воздействии плазмы в среде гидрофильных плазмообразующих газов или их смесей [13–17].
Образующиеся при коронном разряде ионы, ускоренные электрическим полем, называются ионным ветром, и они, достигая образца, взаимодействуют с полимером. Некоторые из них рекомбинируются на поверхностях материалов, вызывая в них химические изменения, тогда как оставшиеся ионы проникают в объем материала, попадая в ловушки. Некоторые из инжектированных зарядов могут быть высвобождены возбужденными молекулами, образованными коронным разрядом, и перенесены в объем материала во внутреннее электрическое поле, связанное с инжектированным зарядом. Корона переменного тока в воздухе характеризуется высокой концентрацией групп –О–, HO–О–, H2O2 и О3 и относительно низкой концентрацией –ОН групп. Однако с ростом относительной влажности содержание –ОН групп растет при уменьшении –О– группировок и О3. Если происходит заряжение в положительной короне на воздухе, то преобладают ионы типа (H2O)nH+, и число n увеличивается с ростом относительной влажности. В случае низкой относительной влажности доминируют (H2O)nNO+ и (H2O)n(NO2)+ -группы. В случае заряжения в отрицательной короне на воздухе превалируют ионы СО3–, тогда как при 50%-ной относительной влажности 10% всех ионов составляют ионы типа (H2O)n.
В свете вышеизложенного, в продолжение ранее проведенных работ целью настоящего исследования обозначено разделение водонефтяных эмульсий с использованием нативных и обработанных в поле плазмы коронного разряда в воздушной атмосфере полиамидных (ПА) мембран, что также обуславливает новизну полученных результатов.
Выбор данного вида мембран обусловлен следующими обстоятельствами: ПА мембраны имеют крупноячеистое строение пористой структуры. Такое строение обеспечивает прочность и эластичность в сухом и смоченном виде, что приводит к удобству и простоте в работе с ними. Мембраны не теряют своей прочности и эластичности при многократных сгибаниях, что обеспечивает возможность бездефектного изготовления гофрированных патронных фильтрующих элементов. В связи с высокой гидрофильностью мембранообразующего полимера ПА мембраны быстро смачиваются водой и различными водными растворами. Они устойчивы в водных средах со значениями pH = 2–13, а также во многих органических растворителях [18]. ПА мембраны не теряют своей прочности и эластичности при многократных сгибаниях, они устойчивы к механическим, химическим и термическим нагрузкам, биологически инертны. Мембраны хорошо выдерживают стерилизацию насыщенным паром в автоклаве при температуре 120°С без изменения механических и эксплуатационных характеристик [19].
Необходимо отметить, что полиамидные поверхности подвергались воздействию плазмы [20], однако обработка коронным разрядом произведена впервые.
ПА мембраны применяются во многих отраслях промышленности для выделения и концентрирования многих субстанций из водных сред. Более подробно о путях использования ПА мембран изложено в обзорах [20–22].
ЭКСПЕРИМЕНТАЛЬНАЯ ЧАСТЬ
Для исследования применялись ассиметричные мембраны из полиамида-6 с размером пор 0.2 мкм, диаметром 47 мм и толщиной 0.12 мм без подложки (ЗАО “Владисарт”). Производительность по воде ≈ 20 000 дм³/(м² ∙ ч).
В качестве разделяемой среды использована 1.5%-ная модельная водонефтяная эмульсия (ВНЭ) на основе нефти девонского отложения ромашкинского месторождения, используемая в качестве дисперсной фазы, а также дистиллированной воды – дисперсионной среды и ПАВ марки “Косинтол-247” (015%) – эмульгатор.
Исследования проводились на лабораторной ультрафильтрационной установке мембранного разделения. Конструкция мембранного модуля представляет собой полый цилиндр с внутренним объемом 200 см3, снизу которого закрепляется на подставке мембрана, а сверху подается давление, создаваемое компрессором. В начале эксперимента эмульсия объемом 100 см3 заливается в рабочую емкость цилиндра, при этом одновременно включается магнитное перемешивающее устройство, в результате чего на поверхности мембраны образуется тангенциальный поток с целью предотвращения явления концентрационной поляризации. С помощью системы креплений, уплотнений и зажимов мембранный модуль герметизируется, после чего создается требуемое давление – 2 атм, регистрируемое манометром, встроенным в компрессор, обусловливающее начало процесса разделения при комнатной температуре [13].
Удельная производительность определяется как отношение объема, прошедшего через мембрану потока разделяемой среды, к произведению площади рабочей поверхности мембраны и времени процесса.
Измерение значений ХПК осуществлялось ускоренным методом обратного титрования с использованием 0.25 Н расвора бихромата калия в качестве окислителя с соблюдением метрологических характеристик стандартизированной методики. Параллельные пробы образца оттитровывались 0.25 М раствором соли Мора до достижения сходимости 12%.
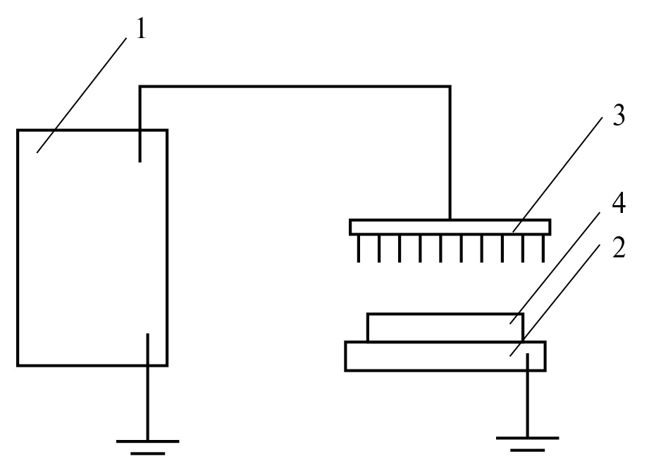
Коронная обработка полимерных мембран осуществляется в коронаторе, схема которого приведена на рис. 1, следующим образом: на держатель (2) накладывается мембрана. На коронирующий электрод (3), cостоящий из 196 заостренных игл, равномерно расположенных на площади 49 см2 в виде квадрата с помощью генератора высокого напряжения (4), подается напряжение U = 5, 15 или 25 кВ отрицательной полярности. Расстояние между мембраной (1) и электродами (3) составляет 2 см. По истечении времени поляризации, τ = 1, 3 и 5 мин, генератор выключается, образцы снимаются с держателя (2) с помощью пинцета [14].
Рис. 1. Схема коронатора: 1 – источник высокого напряжения, 2 – заземленный электрод, 3 – коронирующий электрод, 4 – образец мембраны.
Определение размеров частиц и дзета потенциала (ζ)ВНЭ проводилось методом электрофоретического светорассеивания с помощью прибора “NanoBrookOmni”.
Рентгеноструктурный анализ (PCА) позволяет получать информацию о морфологии полимера, размере и форме кристаллитов, а также о степени кристалличности твердых полимеров. Использовался дифрактометр марки “Rigaku Ultima IV” с шагом сканирования 0.02° в диапазоне 2θ–550.
ИК-спектры исследуемых образцов мембран получены на ИК Фурье-спектрометре марки “ИнфраЛЮМ ФТ-08” в интервале частот 600–4000 см-1.
Общая пористость выражается в процентах и часто не коррелируется с транспортными свойствами мембран из-за наличия закрытых и тупиковых пор. В этой связи экспериментальное определение общей степени пористости выполнено гравиметрическим методом по разнице сухого и смоченного образца мембраны.
С помощью зондового микроскопа марки “MultiMode V” получены изображения и гистограммы топографии поверхности исходной (необработанной) и обработанной коронным разрядом (модифицированной) ПА мембраны.
Атомно-силовой микроскопией (АСМ) зондируют поверхность образца острой иглой длиной 1–2 мкм и диаметром острия обычно не более 10 нм. Основной принцип работы АСМ заключается в воздействии сил со стороны поверхности образца на острие сканирующей иглы. Сила, которая чаще всего ассоциируется с АСМ, – это межатомная сила, называемая также вандерваальсовой.
MultiMode V – сканирующий зондовый микроскоп фирмы Veeco (США). Позволяет получать увеличенное изображение объектов (увеличение до 1 млн раз). В отличие от любого другого типа микроскопов, на зондовом микроскопе можно получить трехмерное изображение с большим разрешением. Разрешение MultiMode V составляет 10 нм, что позволяет изучать различные нанообъекты (определение размеров, формы и структуры). Кроме того, можно получать информацию о шероховатости поверхности. Объектами исследования могут выступать твердые образцы и порошки [12–17].
ОБСУЖДЕНИЕ РЕЗУЛЬТАТОВ
Первоначальным этапом экспериментальной работы определены производительность (рис. 2) и эффективность (табл. 1) разделения ВНЭ коронообработанными мембранами. В результате воздействия коронного разряда выявлена интенсификация процесса – производительность процесса разделения увеличивается до 4 раз. При этом большие значения рассматриваемого параметра отмечены при максимальном напряжении в экспериментах – 25 кВ. Также необходимо обозначить повышение устойчивости мембран к замасливанию с повышением напряжения, что выражается в меньшем снижении потока с увеличением объема прошедшего фильтрата. Какие-либо зависимости от времени обработки не выявлены.
Рис. 2. Производительность разделения нефтяной эмульсии ПА мембранами, обработанными коронным разрядом при: а) U = 5 кВ; б) U = 15 кВ; в) U = 25 кВ.
Таблица 1. Значения ХПК очищаемой эмульсии ПА мембранами
Напряжение коронной обработки, кВ | Значения ХПК фильтратов, мгО/дм³ | ||
Время плазмообработки, мин | |||
1 | 3 | 5 | |
5 | 6090 | 4176 | 6090 |
15 | 5100 | 2040 | 1190 |
25 | 4100 | 3280 | 5740 |
Фильтрат после прохождения нативной мембраны | 5550 | ||
Исходная эмульсия | 22422 | ||
На основании ранее проведенных исследований [12–17] известно, что при воздействии коронного разряда образуется озон, который инициирует на поверхности полимера, в частности полиамида, протекание окислительных реакций, способствующих изменению его контактных свойств, в результате чего выявлено улучшение эксплуатационных характеристик.
По данным табл. 1, в большинстве случае содержание органических компонентов нефти по показателю ХПК в фильтрате после прохождения модифицированных мембран ниже по сравнению с таковым показателем после фильтрации исходной мембраной. Меньшее значение рассматриваемого параметра (1190 мгО/дм³) достигнуто при U = 15 кВ и τ = 5 мин, что в ≈5 раз меньше по сравнению с таковым значением (5550 мгО/дм³) для фильтрата, полученного после использования нативной мембраной. Вероятно, большее значение напряжения коронного разряда способствует прожиганию селективного слоя фильтра, а уменьшение не приводит к необходимому эффекту модификации.
Таким образом, эффективность разделения исходной и лучшей модифицированной мембранами составили 75.2% и 94.7% соответственно.
Эффективность определена по формуле η = (1 – C2/C1) ∙100, где С1 и С2 – начальное и конечное значение ХПК.
В целом необходимо отметить положительный эффект коронирования ПА мембран на улучшение разделительных характеристик по ВНЭ.
В продолжение работы инструментальными методами анализа проведены исследования характеристик разделяемой среды и мембран.
По полученным гистограммам (рис. 3) показано, что обработанная коронным разрядом мембрана пропускает более мелкие частицы нефти вследствие образования на поверхности нового селективного слоя, повышающего эффективность процесса, но за счет малой толщины не снижающего производительность.
Рис. 3. График зависимости размеров частиц и интенсивности ВНЭ до коронообработки и после.
Одной из основных характеристик, влияющих на транспортные свойства мембран, является степень кристалличности. В этой связи с помощью аппарата “RigakuUltimaIV” получены дифрактограммы исходной и коронообработанной при U = 15 кВ и τ = 5 мин ПА мембран, представленные на рис. 4.
Рис. 4. Дифрактограмма исходной и обработанной ПА мембраны с размером пор 0.2 мкм.
При анализе дифрактограмм степени кристалличности исследуемых ПА мембран в результате воздействия коронного разряда существенных изменений не обнаружено. Значение рассматриваемого параметра составило γ = 0.25 и γ = 0.24 для исходного и коронообработанного образцов мембран соответственно.
Рентгеноструктурный анализ ПА мембран показал, что мембраны обладают слабовыраженной кристаллической структурой.
С целью регистрации изменения химической структуры ПА мембран после воздействия коронного разряда, с помощью ИК-спектрометра “ИнфраЛЮМ ФТ-08” получены ИК-спектры исходных и коронообработанных мембран, представленные на рис. 5. Идентификация полимера производится сравнением полученных полос поглощения с табличными данными, характеризующими группы различного химического строения. Методом нарушенного полного внутреннего отражения выявлено уменьшение интенсивности пиков связи NH вторичного амида (3050 см-1), карбонильной группы (1650 см-1), связи NH(1550 см-1), а также гидроксильной группировки –ОН, резонирующей при 687 см-1. Данное обстоятельство подтверждает протекание химической реструктуризации поверхности полимера в результате его травления и окисления.
Рис. 5. ИК-спектр исходной и коронообработанной ПА мембран с размером пор 0.2 мкм.
Обычно общая пористость асимметричных полимерных мембран составляет 60–80%, трековых мембран – 2–10%, неорганических мембран – 20–50%. В нашем случае выявлено, что пористость ПА мембраны в результате коронной обработки увеличилась с 73 до 75%.
Методом микроскопии получены изображения и гистограммы топографии поверхности исходной (необработанной) и обработанной коронным разрядом (модифицированной) ПА мембраны, представленные на рис. 6. Здесь и далее в качестве основного топографического параметра будет учитываться высота поверхности относительно базовой плоскости, которая представляет в данном случае плоскость, соприкасающуюся с самой нижней точкой рассматриваемой поверхности.
Рис. 6. Изображения поверхности с соответствующими топографическими гистограммами ПА мембраны: а) исходной; б) коронообработанной.
На основании представленных изображений поверхностей исходной и коронообработанной ПА мембран очевидно наличие поверхностных деформаций, в данном случае в результате воздействия озона, образующегося при коронном разряде, что в конечном итоге приводит к значительному увеличению шероховатости за счет окисления последней. Наиболее часто встречающееся значение высоты поверхности немодифицированной ПА мембраны относительно базовой линии составляет ≈1.5 мкм (рис. 6а). В данном случае это условно можно принять за шероховатость поверхности. В то же самое время наибольшее количество выступов у мембраны, подвергнутой воздействия плазмы коронного разряда, составляет ≈2 мкм (рис. 6б) [12–17].
ЗАКЛЮЧЕНИЕ
На основании исследований, результаты которых представлены в настоящей работе, выявлено увеличение эффективности разделения 1.5%-ной ВНЭ на основе девонской нефти ПА мембранами в результате обработки последних в поле униполярного коронного разряда.
Инструментальными методами анализа, в частности, атомно-силовой микроскопией, подтверждено наличие поверхностных деформаций, увеличение шероховатости поверхности ПА мембраны после коронообработки, что является следствием воздействия озона. Степень кристалличности снижается с 0.25 до 0.24. Выявлено, что воздействие коронного разряда на ПА мембраны способствует увеличению производительности последних при разделении ВНЭ в начальный период процесса и селективности разделения.
Об авторах
В. О. Дряхлов
Казанский национальный исследовательский технологический университет
Автор, ответственный за переписку.
Email: vladisloved@mail.ru
Россия, Казань, ул. Карла Маркса, 68
И. Г. Шайхиев
Казанский национальный исследовательский технологический университет
Email: vladisloved@mail.ru
Россия, Казань, ул. Карла Маркса, 68
Д. Д. Фазуллин
Казанский (Поволжский) федеральный университет
Email: vladisloved@mail.ru
Набережночелнинский институт
Россия, Набережные Челны, проспект Мира, 68/19И. Р. Низамеев
Казанский национальный исследовательский технический университет им. А.Н. Туполева
Email: vladisloved@mail.ru
Россия, Казань, ул. Карла Маркса, 10
М. Ф. Галиханов
Институт прикладных исследований Академии наук Республики Татарстан
Email: vladisloved@mail.ru
Россия, Казань, ул. Баумана, 20
И. Ф. Мухамадиев
Казанский национальный исследовательский технологический университет
Email: vladisloved@mail.ru
Россия, Казань, ул. Карла Маркса, 68
Список литературы
- McCay D.F., Rowe J.J., Whittier N., Sankaranarayanan S., Etkin D.S. // J. Hazardous Materials. 2004. V. 107. P. 11.
- Pak A., Mohammadi T. // Desalination. 2008. V. 222. P. 249.
- Nassar N.N., Hassan A., Carbognani L., Lopez- F., Pereira-Almao P. // Fuel. 2012. V. 95. P. 257.
- Haruna A., Merican Z.M.A., Musa S.G. // J. Industrial and Engineering Chemistry. 2022. V. 112. P. 20.
- Deng S., Wang Z., Gu Q., Meng F., Li J., Wang H. // Fuel Processing Technology. 2011. V. 92(5). P. 1062.
- Peng B., Yao Z., Wang X., Crombeen M., Sweeney D.G., Tam K.C. // Green Energy & Environment. 2020 V. 5(1). P. 37.
- Albatrni H., Qiblawey H., Almomani F., Adham S., Khraisheh M. // Chemosphere. 2019. V. 233. P. 809.
- Varjani S., Joshi R., Srivastava V.K., Ngo H.H., Guo W. // Environmental Science and Pollution Research. 2020. V. 27. P. 27172.
- Mohammadi L., Rahdar A., Bazrafshan E., Dahmardeh H., Susan M.A.B.H., Kyzas G.Z. // Processes. 2020. V. 8(4). № 447.
- Dmitrieva E.S., Anokhina T.S., Novitsky E.G., Volkov V.V., Borisov I.L., Volkov A.V. // Polymers. 2022. V. 14(5). № 980.
- Muthukumar K., Kaleekkal N.J., Lakshmi D.S., et all. // J. Appl. Polym. Sci. 2019. № 24. P. 1–10.
- Fazullin D.D., Mavrin G.V. // Chemical and Petroleum Engineering. 2020. № 56. P. 215222.
- Шайхиев И.Г., Галиханов М.Ф., Дряхлов В.О., Алексеева М.Ю., Фазуллин Д.Д. // Вода: Химия и Экология. 2019. № 1–2 (118). С. 77–82.
- Алексеева М.Ю., Дряхлов В.О., Галиханов М.Ф., Низамеев И.Р., Шайхиев И.Г. // Мембраны И Мембранные Технологии. 2018. Т. 8. № 1. С. 59–65.
- Fedotova A.V., Shaikhiev I.G., Dryakhlov V.O., Nizameev. I.R., Abdullin I.S. // Petroleum Chemistry. 2017. V. 57. P. 159.
- Fedotova A.V., Dryakhlov V.O., Shaikhiev I.G., Nizameev I.R., Garaeva G.F. // Surface Engineering and Applied Electrochemistry. 2018. V. 54. P. 174.
- Shaikhiev I.G., Dryakhlov V.O., Galikhanov M.F., Fazullin D.D., Mavrin G.V // Inorganic Materials: Applied Research. 2020. V. 11. № 5. P. 1160–1164.
- Тарасов А.В., Федотов Ю.А., Лепешин С.А., Панов Ю.Т., Окулов К.В., Вдовина А.И. // Известия Самарского научного центра РАН. 2012. № 14 (1–9). С. 2372.
- Панов Ю.Т., Тарасов А.В., Лепешин С.А., Ермолаева Е.В. // Современные наукоемкие технологии. 2015. № 12–2. С. 258.
- Tusek L., Nitschke M., Werner C. //Colloids and Surfaces. A: Physicochemical and Engineering Aspects. 2001. V. 195. P. 81–95.
- Yang Z., Guo H., Tang Y.C. // Journal of membrane science. 2019. V. 590. P. 117297.
- Ridgway H.F., Orbell J., Gray S. // J. Membrane Science. 2017. V. 524. P. 436.
- Shao S., Zeng F., Long L., Zhu X., Peng L.E., Wang F., Yang Z. Tang C.Y. // Environmental Science & Technology. 2022. V. 56(18). P. 12811.
Дополнительные файлы









