Yang–Monti–Casale procedure for short bowel syndrome: preliminary geometric analysis
- Authors: Kosulin A.V.1, Podkamenev A.V.1, Lukina N.A.1, Avdovskaya A.K.1, Melnikova E.A.1, Ti R.A.1
-
Affiliations:
- Saint Petersburg State Pediatric Medical University
- Issue: Vol 15, No 4 (2024)
- Pages: 55-62
- Section: Original studies
- URL: https://journal-vniispk.ru/pediatr/article/view/279239
- DOI: https://doi.org/10.17816/PED15455-62
- ID: 279239
Cite item
Abstract
BACKGROUND: Currently autologic reconstructive surgery in the most significant approach in surgical therapy for enteral insufficiency due to short bowel syndrome. Possible application for short bowel surgery of widespread urologic Yang–Monti–Casale technique is an issue of interest. The technique includes cutting of small bowel segment antimesenteric border with a figured incision and second tubularization at an angle to the mesenterium fixation line which results in elongation and narrowing of the bowel segment.
AIM: To determine geometric requirements of small bowel segment for Yang–Monti–Casale procedure to treat short bowel syndrome.
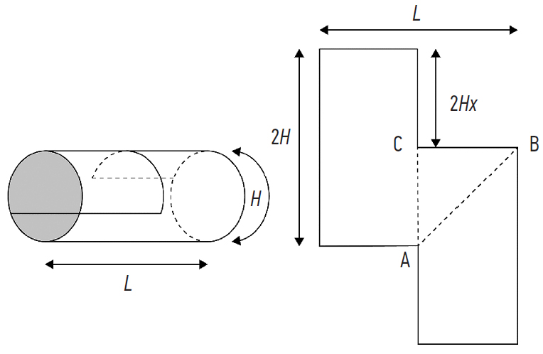
MATERIALS AND METHODS: A mathematical model for resulting bowel segment after Yang–Monti–Casale procedure geometry dependency on original bowel length and width was observed. An object of the analysis was a cylindrical surface. Modeling assumptions were that the suface had no thickness and was unstretchable. Only surfaces with length more than width were taken into account. For establishing the dependency of bowel segment after procedure on original parameters a net of cutted with figured incise according the Yang–Monti–Casale technique cylindrical surface was considered. Bowel segment resulting width was computed as a half of the distance between the points that matched during the enteroplasty. Resulting length was computed as the ratio of the surface area and the resulting width.
RESULTS: Yang–Monti–Casale procedure provides significant bowel segment elongation and narrowing if original bowel length to width ratio is not more than 2,5:1. The target bowel width 20 ± 2 mm is achieveable if original length is 60–80 mm and original width is 30–65 mm.
CONCLUSIONS: Yang–Monti–Casale procedure may be considered as auxiliary technique for short bowel syndrome requiring bowel segment length 60–80 mm, width 30–65 mm, and length to width ratio not more than 2,5:1.
Full Text
##article.viewOnOriginalSite##About the authors
Artem V. Kosulin
Saint Petersburg State Pediatric Medical University
Author for correspondence.
Email: hackenlad@mail.ru
ORCID iD: 0000-0002-9505-222X
SPIN-code: 7609-0708
MD, PhD, Associate Professor, Department of Operative Surgery and Topographic Anatomy named after F.I. Valker
Russian Federation, 2 Litovskaya st., Saint Petersburg, 194100Aleksey V. Podkamenev
Saint Petersburg State Pediatric Medical University
Email: podkamenev@hotmail.com
ORCID iD: 0000-0001-6006-9112
SPIN-code: 7052-0205
MD, PhD, Dr. Sci. (Medicine), Head, Department of Surgical Diseases of Childhood named after G.A. Bairov
Russian Federation, 2 Litovskaya st., Saint Petersburg, 194100Natalya A. Lukina
Saint Petersburg State Pediatric Medical University
Email: lukinanatalyaa@yandex.ru
ORCID iD: 0000-0002-8695-1645
SPIN-code: 3418-9927
Senior Laboratory Assistant, Department of Operative Surgery and Topographic Anatomy named after F.I. Valker
Russian Federation, 2 Litovskaya st., Saint Petersburg, 194100Alina K. Avdovskaya
Saint Petersburg State Pediatric Medical University
Email: avdovskaya.alina@gmail.com
ORCID iD: 0009-0004-0433-6967
SPIN-code: 7197-8855
Pediatric Surgeon, Surgical Department No 3
Russian Federation, 2 Litovskaya st., Saint Petersburg, 194100Ekaterina A. Melnikova
Saint Petersburg State Pediatric Medical University
Email: kea13doc@gmail.com
ORCID iD: 0009-0004-2443-0344
SPIN-code: 5508-2109
Assistant Professor, Department of Operative Surgery and Topographic Anatomy named after F.I. Valker
Russian Federation, 2 Litovskaya st., Saint Petersburg, 194100Roman A. Ti
Saint Petersburg State Pediatric Medical University
Email: sprut009@yandex.ru
ORCID iD: 0000-0003-4116-424X
SPIN-code: 6037-3751
Pediatric Surgeon, Operating Department, Perinatal center
Russian Federation, 2 Litovskaya st., Saint Petersburg, 194100References
- Bezhenar VF, Ivanova LA, Ivanov DO, Krasnogorskaya OL. Newborn baby needs operation: is it possible to reduce the risk of postoperative mortality? Pediatrician (St. Petersburg). 2023;14(4):85–92. EDN: GINHRL doi: 10.17816/PED14485-92
- Karpeeva YuS, Novikova VP, Khavkin AI. Short bowel syndrome: from presentation to treatment. Pediatric nutrition. 2021;19(6):75–85. EDN: ALMSZI doi: 10.20953/1727-5784-2021-6-75-85
- Mazurin AV, Vorontsov IM. Propedeutics of pediatric diseases. Saint Petersburg: Foliant; 2000. 1008 p. (In Russ.) EDN: QLSVXZ
- Mokrushina OG, Gurskaia AS, Skvortsova VA, et al. Intestinal failure: analysis of the results of a series of clinical observations. Pediatrics. Journal named after G.N. Speransky. 2022;101(4):165–172. EDN: PMWMMP doi: 10.24110/0031-403X-2022-101-4-165-172
- Novikova VP, Zech OM. Bacterial overgrowth syndrome in children. Pediatrician (St. Petersburg). 2010;1(1):М54–М59. (In Russ.) EDN: NVZVEP
- Filippov DV, Glushkova VA. Colectomy — an operation of despair or a necessary option in the treatment of patients with severe forms of inflammatory bowel disease in pediatrics. Children’s Medicine of the North-West. 2021;9(1):358–359. (In Russ.) EDN: IQVULI
- Khasanov RR. Bowel lengthening surgery for short bowel syndrome in children. Bashkortostan Medical Journal. 2017;12(4): 137–140. EDN: ZULLIT
- Alberti D, Righetti L, Bianchi A, et al. Transverse flap duodenoplasty (TFD): a new technique in autologous bowel reconstructive surgery. Pediatr Surg Int. 2018;34(5):567–571. doi: 10.1007/s00383-018-4245-1
- Bao JS, He Q, Li Y, et al. Yang–Monti principle in bridging long ureteral defects: Cases report and a systemic review. Urol J. 2017;14(4):4055–4061.
- Billiauws L, Thomas M, Le Beyec-Le Bihan J, et al. Intestinal adaptation in short bowel syndrome. What is new? Nutr Hosp. 2018;35(3):731–737. doi: 10.20960/nh.1952
- Boroni G, Parolini F, Stern MV, et al. Autologous intestinal reconstruction surgery in short bowel syndrome: Which, when, and why. Front Nutr. 2022;9:861093. doi: 10.3389/fnut.2022.861093
- Casale AJ. A long continent ileovesicostomy using a single piece of bowel. J Urol. 1999;162(5):1743–1745. doi: 10.1016/S0022-5347(05)68228-6
- Coletta R, Aldeiri B, Morabito A. Institutional experience with spiral intestinal lengthening and tailoring. Eur J Pediatr Surg. 2019;29(5):412–416. doi: 10.1055/s-0038-1660850
- Coletta R, Morabito A, Iyer K. Nontransplant surgery for intestinal failure. Gastroenterol Clin North Am. 2019;48(4):565–574. doi: 10.1016/j.gtc.2019.08.009
- Dubrovsky G, Huynh N, Thomas AL, et al. Intestinal lengthening via multiple in-continuity springs. J Pediatr Surg. 2019;54(1):39–43. doi: 10.1016/j.jpedsurg.2018.10.036
- Frongia G, Kessler M, Weih S, et al. Comparison of LILT and STEP procedures in children with short bowel syndrome — a systematic review of the literature. J Pediatr Surg. 2013;48(8):1794–1805. doi: 10.1016/j.jpedsurg.2013.05.018
- Hukkinen M, Kivisaari R, Merras-Salmio L, et al. Small bowel dilatation predicts prolonged parenteral nutrition and decreased survival in pediatric short bowel syndrome. Ann Surg. 2017;266(2): 369–375. doi: 10.1097/SLA.0000000000001893
- Huynh N, Dubrovsky G, Rouch JD, et al. Three-dimensionally printed surface features to anchor endoluminal spring for distraction enterogenesis. PLoS One. 2018;13(7):e0200529. doi: 10.1371/journal.pone.0200529
- Lauro A, Coletta R, Morabito A. Restoring gut physiology in short bowel patients: from bench to clinical application of autologous intestinal reconstructive procedures. Expert Rev Gastroenterol Hepatol. 2019;13(8):785–796. doi: 10.1080/17474124.2019.1640600
- Leung MWY, Chan IHY, Chao NSY, et al. Serial transverse enteroplasty for short bowel syndrome: Hong Kong experience. Hong Kong Med J. 2012;18(1):35–39.
- Muff JL, Sokolovski F, Walsh-Korb Z, et al. Surgical treatment of short bowel syndrome the past, the present and the future, a descriptive review of the literature. Children (Basel). 2022;9(7):1024. doi: 10.3390/children9071024
- Patil N, Javali T. Application of the “Yang–Monti principle” in children with iatrogenic ureteral injuries. J Pediatr Urol. 2021;17(4): 543.e541–543.e547. doi: 10.1016/j.jpurol.2021.04.022
- Rafeeqi TA, Thomas A-L, Salimi-Jazi F, et al. Internal plication for spring confinement to lengthen intestine in a porcine model. PLoS One. 2022;17(9):e0274612. doi: 10.1371/journal.pone.0274612
- Saeki I, Kurihara S, Kojima M, et al. A new surgical technique for short bowel syndrome. BMC Surg. 2022;22(1):375. doi: 10.1186/s12893-022-01823-5
- Shun A, Thomas G, Puppi J, et al. Double barrel enteroplasty for the management of short bowel syndrome in children. Pediatr Surg Int. 2021;37(1):169–177. doi: 10.1007/s00383-020-04767-0
- Tappenden KA. Intestinal adaptation following resection. JPEN J Parenter Enteral Nutr. 2014;38(1S):23S-31S. doi: 10.1177/0148607114525210
- van Praagh JB, Hofker HS, Haveman JW. Comparing bowel lengthening procedures: which, when, and why? Curr Opin Organ Transplant. 2022;27(2):112–118. doi: 10.1097/MOT.0000000000000957
- Xiong S, Zhu W, Li X, et al. Intestinal interposition for complex ureteral reconstruction: A comprehensive review. Int J Urol. 2020;27(5):377–386. doi: 10.1111/iju.14222
Supplementary files





